Запчасти Case CX80 (02-14) - MANIFOLD - INTAKE (02) - ENGINE

Схема запчастей Case CX80 - (02-14) - MANIFOLD - INTAKE (02) - ENGINE
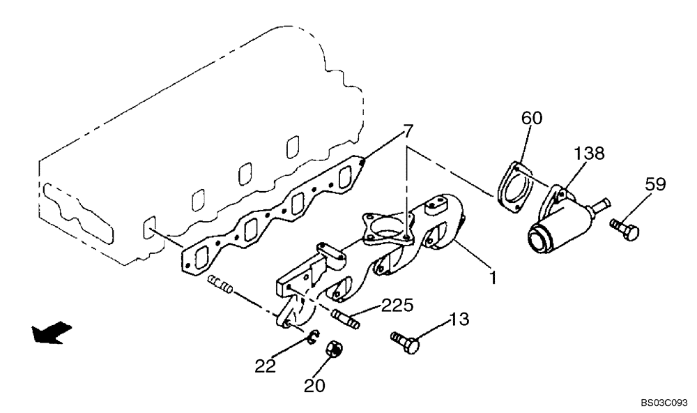
138
225
13
22
1
7
59
60
20
FIT
1:1
100%

Артикул

Название

Примечание

Количество

1

355257A1

MANIFOLD

1шт.

7

368502A1

GASKET

1шт.

13

355261A1

BOLT

M8 x 25; 10.9

6шт.

20

288709A1

NUT

M8

2шт.

22

289782A1

LOCK WASHER

2шт.

59

87597887

BOLT

Replaces 288989A1

2шт.

60

355260A1

GASKET

2шт.

138

355259A1

PIPE

Inlet

1шт.

225

355262A1

STUD

M10 x 24

2шт.

Выбрано товаров: 9