Качественные детали и логистика
Оригинальные и аналоговые запчасти с доставкой по России, Казахстану и Беларуси
©2022 PartSell ООО "Система" ИНН 2463123282 ОГРН 1212400004838
Центральный офис: г. Красноярск, Академика Киренского, д.87, пом.4
Телефон: 8 (800) 777-65-74 Email: zakaz@partsell.ru
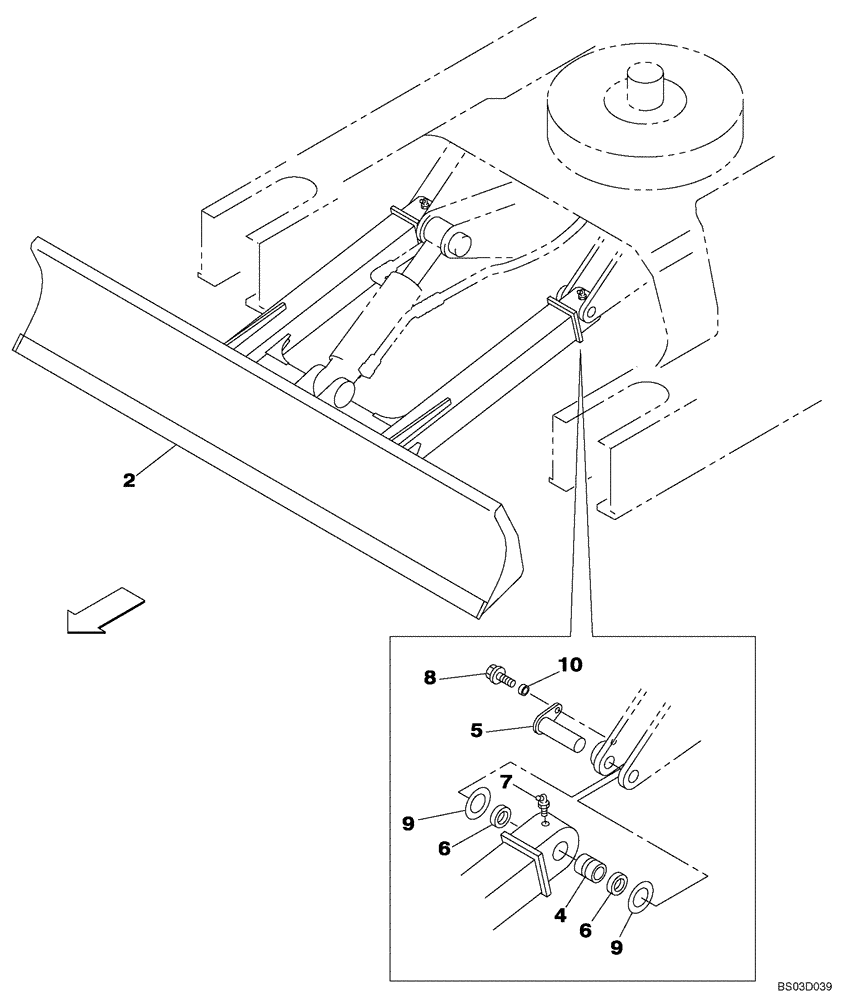
(09-51) - DOZER BLADE
№
Артикул
Название
Примечание
Количество
KAV2086
DOZER BLADE
Incl. 2, 4
1шт.
2
KAV2065
4
167840A1
BUSHING
2шт.
5
KAV2093
PIN
6
167904A1
SEAL
4шт.
7
153631A1
LUBE NIPPLE,1/8"-27 NPT
8
166052A1
BOLT
9
167905A1
WASHER
10
HEV0065
SPACER
Выбрано товаров: 0