Качественные детали и логистика
Оригинальные и аналоговые запчасти с доставкой по России, Казахстану и Беларуси
©2022 PartSell ООО "Система" ИНН 2463123282 ОГРН 1212400004838
Центральный офис: г. Красноярск, Академика Киренского, д.87, пом.4
Телефон: 8 (800) 777-65-74 Email: zakaz@partsell.ru
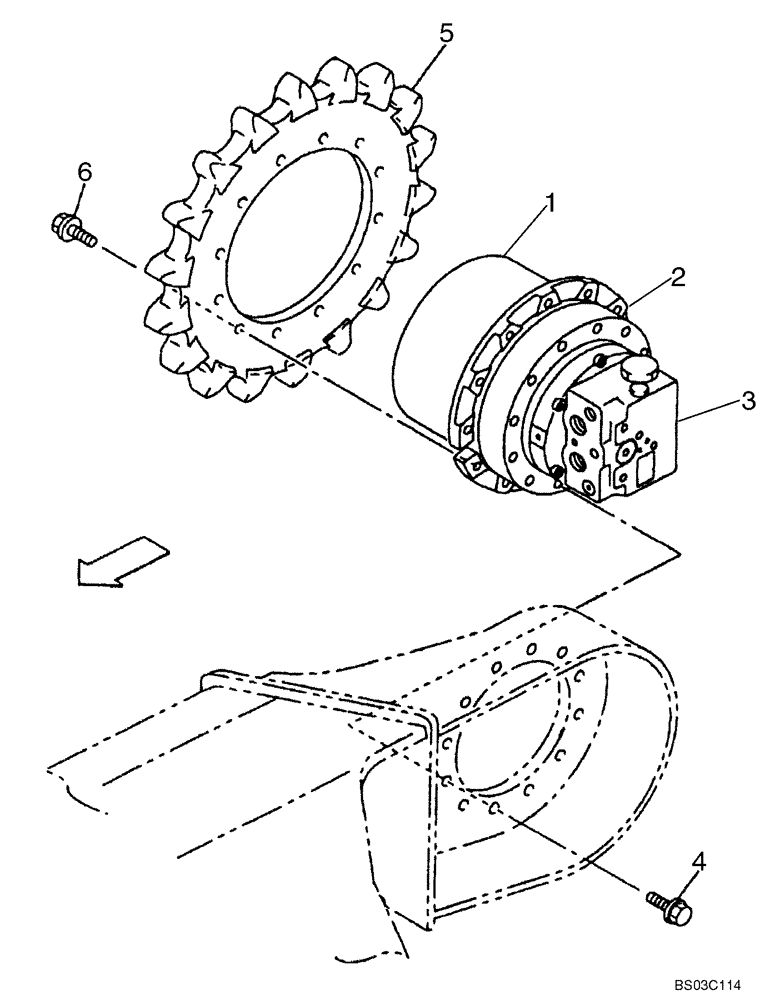
(06-01) - TRACK DRIVE ASSY
№
Артикул
Название
Примечание
Количество
KAA1132
MOTO-REDUCTION GEAR
Incl. 1 - 3
2шт.
KAA1132R
REMAN-MOTO REDUCTION
CX80 CASE CRAWLER EXCAVATOR (NORTH AMERICA)
KAA1132C
CORE-MOTO-REDUCTION UNIT
Return Number
1
LN00106
GEAR REDUCTION UNIT
See Figure 06-02
1шт.
2
LJ01018
REPAIR KIT
See Figure 06-03
3
LJ01025
HYDRAULIC MOTOR
See Figure 06-04
4
166348A1
BOLT
24шт.
5
KAA1133
WHEEL GEAR
6
166470A1
BOLT,M14, W/ Wshr
Выбрано товаров: 0