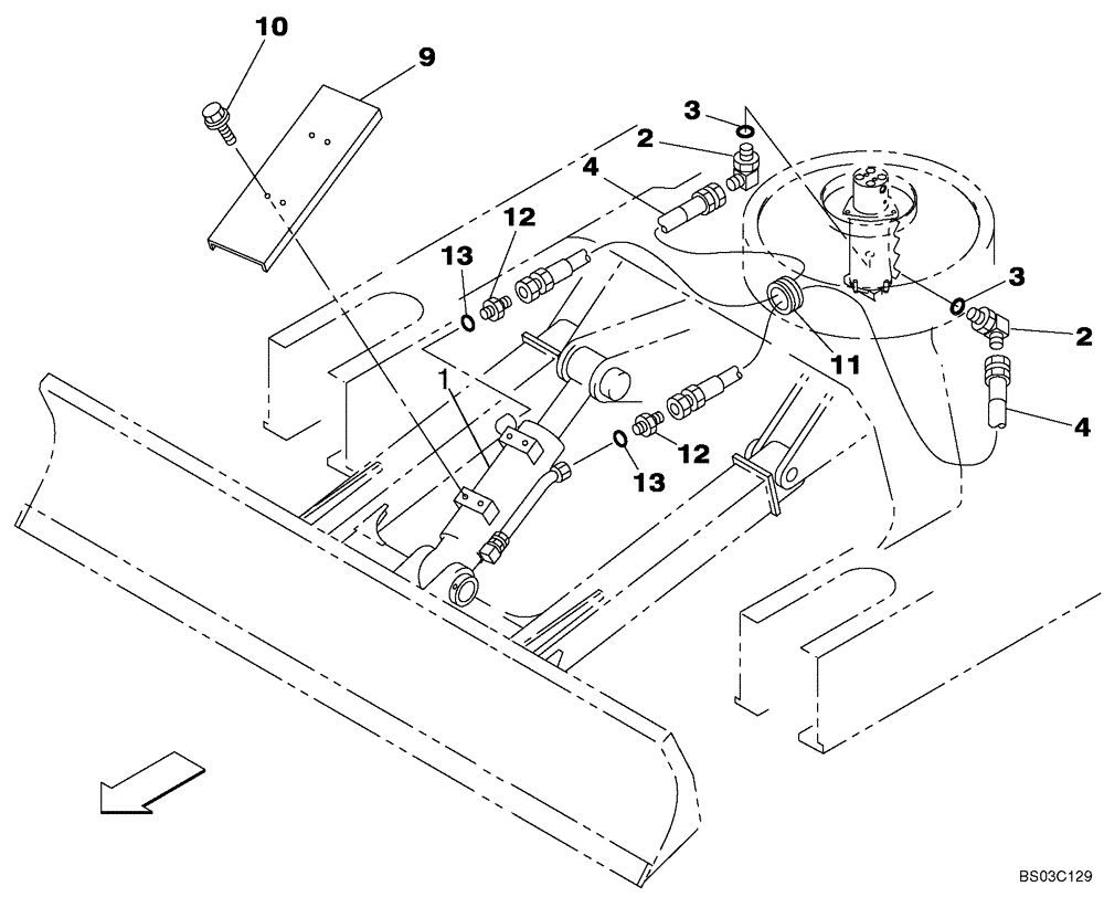
Запчасти Case CX80 (08-50) - HYDRAULICS - BLADE CYLINDER LINE, MODELS WITHOUT LOAD HOLD (08) - HYDRAULICS

Схема запчастей Case CX80 - (08-50) - HYDRAULICS - BLADE CYLINDER LINE, MODELS WITHOUT LOAD HOLD (08) - HYDRAULICS
4
10
2
13
1
12
11
13
3
2
4
12
9
3
FIT
1:1
100%

Артикул

Название

Примечание

Количество

1

KAV2085

HYDRAULIC CYLINDER

Dozer Blade; See Figure 08-51

1шт.

2

150916A1

ELBOW,90 Degree, 3/8" O-Ring x 3/8"

Incl. 3

2шт.

3

154475A1

O-RING

1шт.

4

KAV2096

HYDRAULIC HOSE,9.50 mm ID x 1350.00 mm

2шт.

9

KAV2095

COVER

1шт.

10

167893A1

BOLT

4шт.

11

KEJ0422

GROMMET

1шт.

12

152128A1

HYD CONNECTOR,3/8" NPT O-Ring x 3/8" NPT

Incl. 13

2шт.

13

154475A1

O-RING

1шт.

Выбрано товаров: 9