Запчасти Case CX80 (08-61) - CONTROL VALVE - 2ND OPTION - (KAJ5077) 2 OF 8 (08) - HYDRAULICS

Схема запчастей Case CX80 - (08-61) - CONTROL VALVE - 2ND OPTION - (KAJ5077) 2 OF 8 (08) - HYDRAULICS
68
68
64
114
64
63
45
67
57
44
55
63
127
41
141
67
63
143
54
42
143
144
63
52
64
51
63
64
67
55
56
56
142
53
64
142
144
68
43
128
FIT
1:1
100%

Артикул

Название

Примечание

Количество

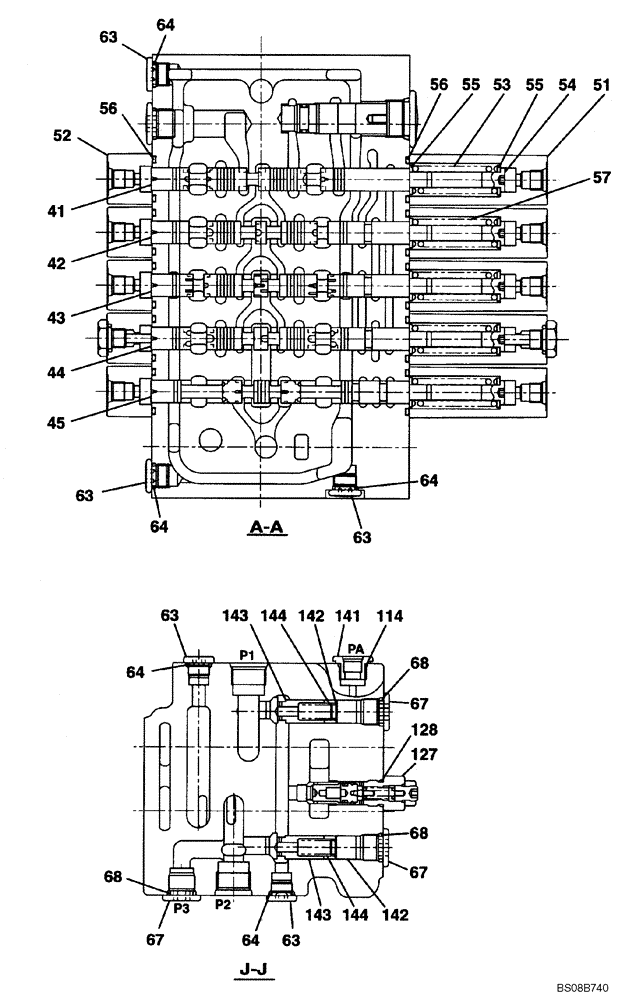
KAJ5077

CONTROL VALVE

Consist Of Ref. Numbers 1 To 177, See Figures 08-60 To 08-67

1шт.

41

NSS

NOT SOLD SEPARAT

Spool, Valve

1шт.

42

NSS

NOT SOLD SEPARAT

Spool, Valve

1шт.

43

NSS

NOT SOLD SEPARAT

Spool, Valve

1шт.

44

NSS

NOT SOLD SEPARAT

Spool, Valve

1шт.

45

NSS

NOT SOLD SEPARAT

Spool, Valve

1шт.

51

LR00828

CAP

10шт.

52

LR00829

CAP

10шт.

53

LG00415

COMPRESSION SPRING

8шт.

54

166943A1

SPOOL

10шт.

55

163393A1

SPRING SEAT

20шт.

56

154514A1

O-RING

20шт.

57

LG00416

COMPRESSION SPRING

2шт.

63

163369A1

PLUG

14шт.

64

154475A1

O-RING

14шт.

67

163370A1

PLUG

7шт.

68

154487A1

O-RING

7шт.

114

154487A1

O-RING

7шт.

127

LJ00918

VALVE PRESSURE RELIE

1шт.

128

155221A1

O-RING

1шт.

141

LK00365

PLUG

1шт.

142

LH00314

SPACER

2шт.

143

LJ00919

POPPET

2шт.

144

LG00417

COMPRESSION SPRING

2шт.

Выбрано товаров: 24