Запчасти Case CX80 (08-62) - CONTROL VALVE - 2ND OPTION - (KAJ5077) 3 OF 8 (08) - HYDRAULICS

Схема запчастей Case CX80 - (08-62) - CONTROL VALVE - 2ND OPTION - (KAJ5077) 3 OF 8 (08) - HYDRAULICS
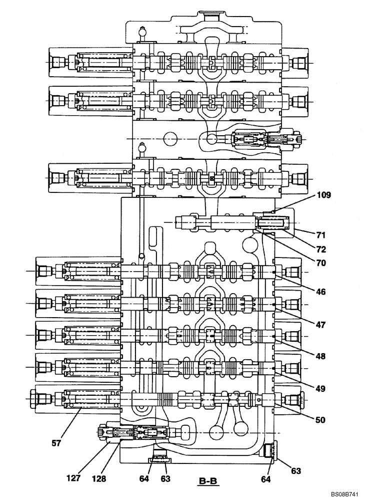
127
47
64
63
49
72
48
109
50
63
70
57
46
128
64
71
FIT
1:1
100%

Артикул

Название

Примечание

Количество

KAJ5077

CONTROL VALVE

Consist Of Ref. Numbers 1 To 177, See Figures 08-60 To 08-67

1шт.

46

NSS

NOT SOLD SEPARAT

Spool, Valve

1шт.

47

NSS

NOT SOLD SEPARAT

Spool, Valve

1шт.

48

NSS

NOT SOLD SEPARAT

Spool, Valve

1шт.

49

NSS

NOT SOLD SEPARAT

Spool, Valve

1шт.

50

NSS

NOT SOLD SEPARAT

Spool, Valve

1шт.

57

LG00416

COMPRESSION SPRING

2шт.

63

163369A1

PLUG

14шт.

64

154475A1

O-RING

14шт.

70

NSS

NOT SOLD SEPARAT

Spool, Valve

1шт.

71

166837A1

PLUG

1шт.

72

166972A1

SPRING

1шт.

109

154503A1

O-RING

4шт.

127

LJ00918

VALVE PRESSURE RELIE

1шт.

128

155221A1

O-RING

1шт.

Выбрано товаров: 15