Запчасти Case CX80 (08-64) - CONTROL VALVE - 2ND OPTION - (KAJ5077) 5 OF 8 (08) - HYDRAULICS

Схема запчастей Case CX80 - (08-64) - CONTROL VALVE - 2ND OPTION - (KAJ5077) 5 OF 8 (08) - HYDRAULICS
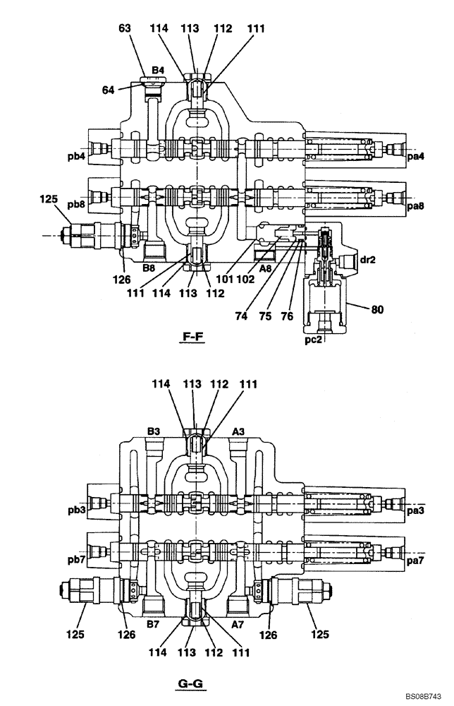
111
74
76
63
111
125
125
75
64
112
113
113
126
102
111
111
112
125
114
113
114
80
126
114
114
101
126
112
113
112
FIT
1:1
100%

Артикул

Название

Примечание

Количество

KAJ5077

CONTROL VALVE

Consist Of Ref. Numbers 1 To 177, See Figures 08-60 To 08-67

1шт.

63

163369A1

PLUG

14шт.

64

154475A1

O-RING

14шт.

74

166853A1

SPACER

2шт.

75

155062A1

O-RING

2шт.

76

154402A1

BACK-UP RING

2шт.

80

NSS

NOT SOLD SEPARAT

Valve, Spl.

1шт.

101

166946A1

VALVE POPPET

1шт.

102

166979A1

SPRING

1шт.

111

166945A1

VALVE POPPET

5шт.

112

166978A1

SPRING

5шт.

113

166840A1

PLUG

4шт.

114

154487A1

O-RING

7шт.

125

KAJ4876

HYDRAULIC VALVE

7шт.

126

155222A1

O-RING

7шт.

Выбрано товаров: 15