Запчасти Case CX80 (08-71) - CONTROL VALVE - STD - (KAJ5076) 3 OF 8 (08) - HYDRAULICS

Схема запчастей Case CX80 - (08-71) - CONTROL VALVE - STD - (KAJ5076) 3 OF 8 (08) - HYDRAULICS
129
128
52
66
66
72
65
73
71
48
51
50
59
65
49
109
FIT
1:1
100%

Артикул

Название

Примечание

Количество

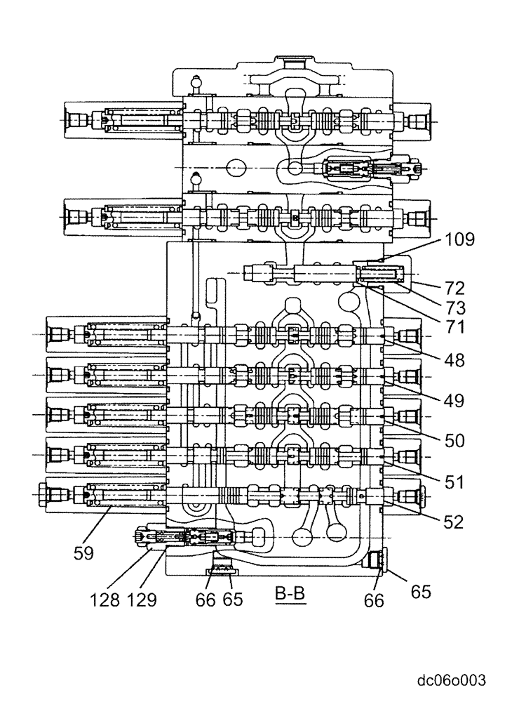
KAJ5076

CONTROL VALVE

1шт.

48

NSS

NOT SOLD SEPARAT

Spool, Valve

1шт.

49

NSS

NOT SOLD SEPARAT

Spool, Valve

1шт.

50

NSS

NOT SOLD SEPARAT

Spool, Valve

1шт.

51

NSS

NOT SOLD SEPARAT

Spool, Valve

1шт.

52

NSS

NOT SOLD SEPARAT

Spool, Valve

1шт.

59

LG00416

COMPRESSION SPRING

2шт.

65

163369A1

PLUG

Incl. 66

14шт.

66

154475A1

O-RING

14шт.

71

NSS

NOT SOLD SEPARAT

Spool, Valve

1шт.

72

166837A1

PLUG

1шт.

73

166972A1

SPRING

1шт.

109

154503A1

O-RING

4шт.

128

LJ00918

VALVE PRESSURE RELIE

Incl. 129

1шт.

129

155221A1

O-RING

1шт.

Выбрано товаров: 15