Запчасти Case CX80 (08-74) - CONTROL VALVE - STD - (KAJ5076) 6 OF 8 (08) - HYDRAULICS

Схема запчастей Case CX80 - (08-74) - CONTROL VALVE - STD - (KAJ5076) 6 OF 8 (08) - HYDRAULICS
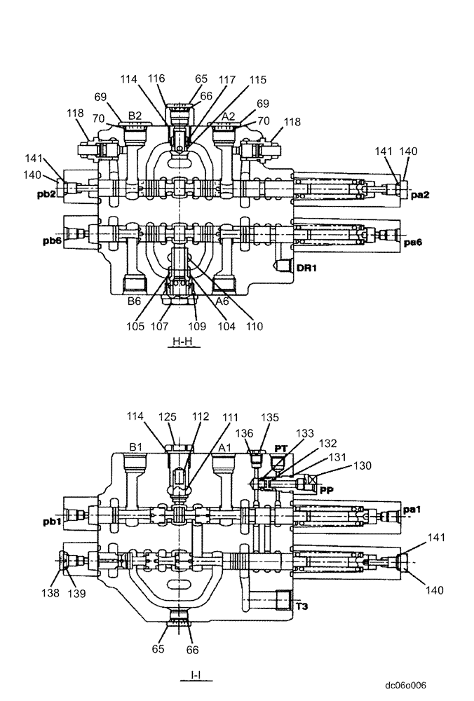
140
69
131
65
114
104
107
110
69
140
118
112
140
66
114
70
116
135
141
118
111
138
70
117
141
136
109
125
139
133
105
130
65
66
132
115
141
FIT
1:1
100%

Артикул

Название

Примечание

Количество

KAJ5076

CONTROL VALVE

1шт.

65

163369A1

PLUG

Incl. 66

14шт.

66

154475A1

O-RING

14шт.

69

163370A1

PLUG

Incl. 70

7шт.

70

154487A1

O-RING

7шт.

104

166936A1

VALVE POPPET

3шт.

105

166973A1

SPRING

3шт.

107

166839A1

PLUG

3шт.

109

154503A1

O-RING

4шт.

110

LH00313

SLEEVE VALVE

1шт.

111

166945A1

VALVE POPPET

5шт.

112

166978A1

SPRING

5шт.

114

154487A1

O-RING

7шт.

115

LPC0284

POPPET

1шт.

116

LLC0147

PLUG

1шт.

117

LSC0280

COMPRESSION SPRING

1шт.

118

LJ00915

SHUT-OFF VALVE

See Figure 08-76

2шт.

125

LK00362

PLUG

1шт.

130

LK00363

PLUG

Incl. 131 - 133

1шт.

131

154475A1

O-RING

1шт.

132

155086A1

O-RING

1шт.

133

154458A1

O-RING

1шт.

134

163368A1

PLUG

Incl. 135, 136

2шт.

135

LK00326

PLUG

2шт.

136

154455A1

O-RING

2шт.

137

163972A1

PLUG

Incl. 138, 139

1шт.

138

LK00328

PLUG

1шт.

139

154467A1

O-RING,10.8mm ID x 2.4mm Width

1шт.

140

LK00364

PLUG

3шт.

141

154467A1

O-RING,10.8mm ID x 2.4mm Width

3шт.

Выбрано товаров: 30