Запчасти Case CX80 (08-83) - PUMP ASSY, HYDRAULIC - DRIVE (08) - HYDRAULICS

Схема запчастей Case CX80 - (08-83) - PUMP ASSY, HYDRAULIC - DRIVE (08) - HYDRAULICS
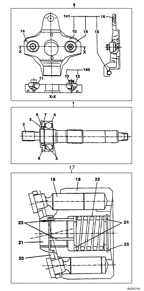
18
1
142
13
15
19
6
12
10
25
16
24
20
21
7
11
14
8
4
141
2
9
5
23
14
3
22
17
FIT
1:1
100%

Артикул

Название

Примечание

Количество

1

LB00874

SHAFT

Incl. 2 - 8

1шт.

2

LB00875

SHAFT

1шт.

3

NSS

NOT SOLD SEPARAT

Housing

1шт.

4

LB00862

BALL BEARING

1шт.

5

LB00862

BALL BEARING

2шт.

6

NSS

NOT SOLD SEPARAT

Seal, Oil

1шт.

LE00979

OIL SEAL

Kit; Incl. 7

1шт.

7

LBQ5151

O-RING

1шт.

8

800-2180

SNAP RING,M80, Int

1шт.

9

LR012150

PLATE

PLATE, Incl. 10 - 16

1шт.

10

NSS

NOT SOLD SEPARAT

Plate

1шт.

11

LS00223

GUIDE

1шт.

LS00186

GUIDE

Kit; Incl. 12, 13

1шт.

12

NSS

NOT SOLD SEPARAT

Guide

1шт.

13

NSS

NOT SOLD SEPARAT

Ring, Piston

1шт.

14

NSS

NOT SOLD SEPARAT

Plug

1шт.

15

NSS

NOT SOLD SEPARAT

Pin

1шт.

16

NSS

NOT SOLD SEPARAT

Bushing

1шт.

17

LZ006720

BLOCK

PUMP, Incl. 18 - 25

1шт.

18

NSS

NOT SOLD SEPARAT

Piston

10шт.

19

LS002610

BLOCK

BLOCK ASSY.

1шт.

20

LH00338

RETAINER

1шт.

21

LS00226

GUIDE

1шт.

22

LG00458

SPRING

1шт.

23

LMP0170

PIN

3шт.

24

LT00025

BAR

2шт.

25

LA00862

RING

Lock

1шт.

Выбрано товаров: 27