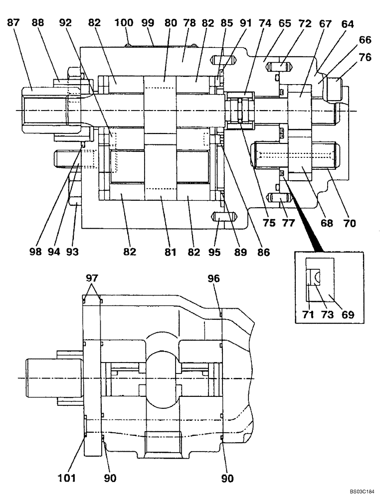
Запчасти Case CX80 (08-86) - PUMP ASSY, HYDRAULIC - GEAR PUMP DRIVE (08) - HYDRAULICS

Схема запчастей Case CX80 - (08-86) - PUMP ASSY, HYDRAULIC - GEAR PUMP DRIVE (08) - HYDRAULICS
78
95
76
100
68
71
87
72
98
88
73
82
90
93
69
64
92
65
81
96
80
101
66
82
82
91
99
82
70
77
67
85
89
94
74
86
75
97
90
FIT
1:1
100%

Артикул

Название

Примечание

Количество

LJ013170

PUMP

Gear; Incl. 64 - 101

1шт.

64

LJ01045

HYDRAULIC PUMP

Gear

1шт.

65

NSS

NOT SOLD SEPARAT

Frame, Main

1шт.

66

NSS

NOT SOLD SEPARAT

Housing

1шт.

67

NSS

NOT SOLD SEPARAT

Gear

1шт.

68

NSS

NOT SOLD SEPARAT

Gear

1шт.

69

NSS

NOT SOLD SEPARAT

Plate

1шт.

70

NSS

NOT SOLD SEPARAT

Bushing

4шт.

71

164803A1

O-RING

1шт.

72

335A050T010

COTTER PIN

2шт.

73

163565A1

RING

Square

1шт.

74

LB00872

COUPLING RING

Shaft

1шт.

75

LA00865

SNAP RING

1шт.

76

863-8055

HEX SOC SCREW,M8 x 55mm, Cl 12.9

4шт.

77

155193A1

O-RING

1шт.

LZ00544

HYD PUMP REPAIR KIT

Incl. 78 - 82

1шт.

78

NSS

NOT SOLD SEPARAT

Frame, Main

1шт.

80

NSS

NOT SOLD SEPARAT

Gear

1шт.

81

NSS

NOT SOLD SEPARAT

Gear

1шт.

82

NSS

NOT SOLD SEPARAT

Plate

2шт.

85

LR012160

PLATE

PLATE

4шт.

86

167380A1

GUIDE

2шт.

87

LB010280

SPLINED COUPLING

RING, COUPLING, Shaft

1шт.

88

LK00418

BUSHING

1шт.

89

LBP0075

O-RING

2шт.

90

155204A1

O-RING

2шт.

91

167354A1

RING

2шт.

92

167355A1

RING

2шт.

93

862-10090

HEX SOC SCREW,M10 x 90mm, Cl 12.9

4шт.

94

863-10025

HEX SOC SCREW,M10 x 25mm, Cl 12.9

2шт.

95

335A050T010

COTTER PIN

4шт.

96

LBQ5018

O-RING

O-RING

1шт.

97

LBQ5023

O-RING

2шт.

98

LBQ5128

O-RING

O-RING

1шт.

99

NSS

NOT SOLD SEPARAT

Plate

1шт.

100

167516A1

SCREW

2шт.

101

154463A1

O-RING

1шт.

Выбрано товаров: 37