Качественные детали и логистика
Оригинальные и аналоговые запчасти с доставкой по России, Казахстану и Беларуси
©2022 PartSell ООО "Система" ИНН 2463123282 ОГРН 1212400004838
Центральный офис: г. Красноярск, Академика Киренского, д.87, пом.4
Телефон: 8 (800) 777-65-74 Email: zakaz@partsell.ru
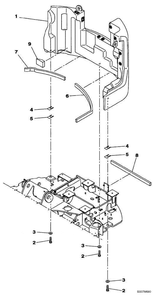
(09-04) - COUNTERWEIGHT
№
Артикул
Название
Примечание
Количество
1
KAB10430
WEIGHT PACKAGE
1шт.
2
827-24080
BOLT,Hex, M24 x 3 x 80mm, Cl 10.9
3шт.
3
KHB0138
WASHER
4
166313A1
SHIM
2шт.
5
166314A1
6
KAB0811
SEAL
7
KAB0757
8
KAB0774
9
KAB10350
Выбрано товаров: 0