Качественные детали и логистика
Оригинальные и аналоговые запчасти с доставкой по России, Казахстану и Беларуси
©2022 PartSell ООО "Система" ИНН 2463123282 ОГРН 1212400004838
Центральный офис: г. Красноярск, Академика Киренского, д.87, пом.4
Телефон: 8 (800) 777-65-74 Email: zakaz@partsell.ru
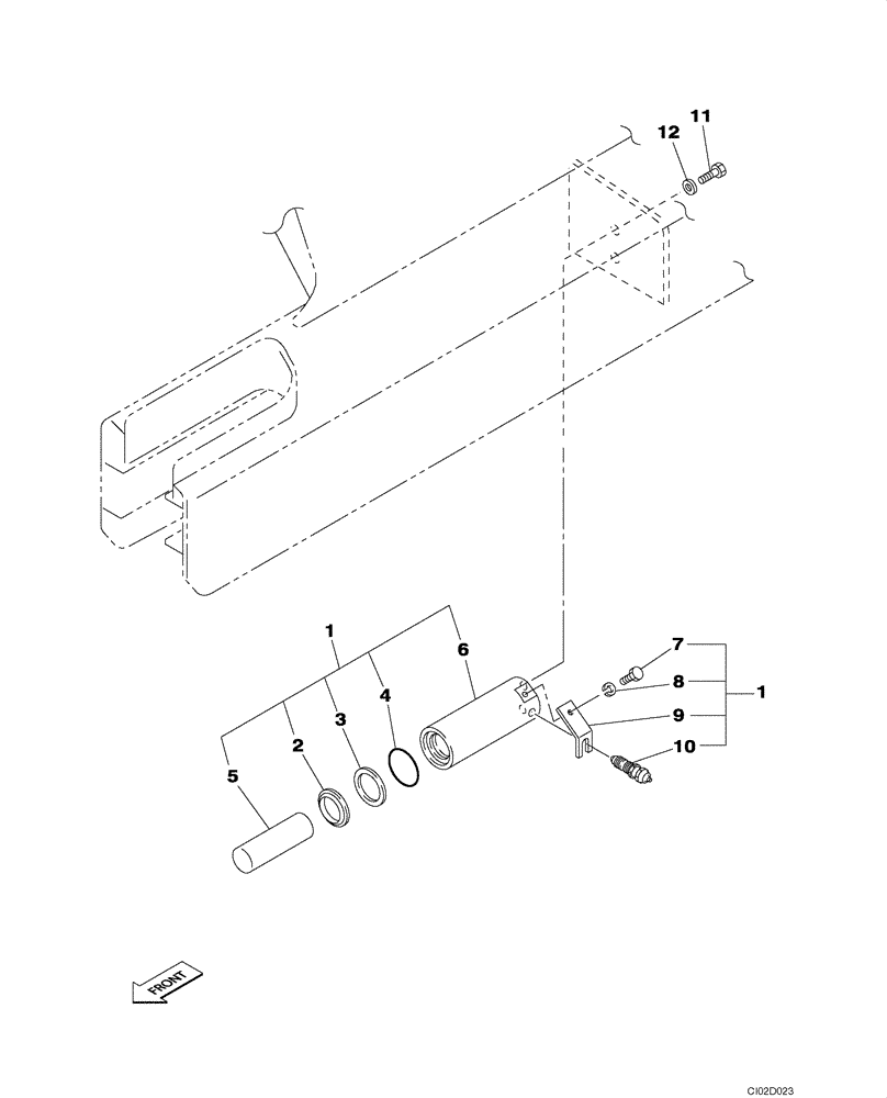
(05-07) - CYLINDER ASSY - ADJUSTER
№
Артикул
Название
Примечание
Количество
1
KAA1219
CYLINDER ASSY.
Incl. 2 - 10
2шт.
2
166236A1
SEAL
Dust
1шт.
3
154085A1
BACK-UP RING
If Used
4
154640A1
O-RING
5
KAA1220
PISTON ROD
6
KAA1221
HYD CYL SLEEVE
7
627-8016
BOLT,Hex, M8 x 1.25 x 16mm, Cl 10.9, Full Thd
8
183-108VR
SPRING WASHER
9
KAA1222
BRACKET
10
150107A1
LUBE NIPPLE
11
627-12040
BOLT,Hex, M12 x 1.75 x 40mm, Cl 10.9, Full Thd
4шт.
12
150811A1
WASHER
M12
Выбрано товаров: 0