Запчасти Case CX80 (04-18) - STARTER (04) - ELECTRICAL SYSTEMS

Схема запчастей Case CX80 - (04-18) - STARTER (04) - ELECTRICAL SYSTEMS
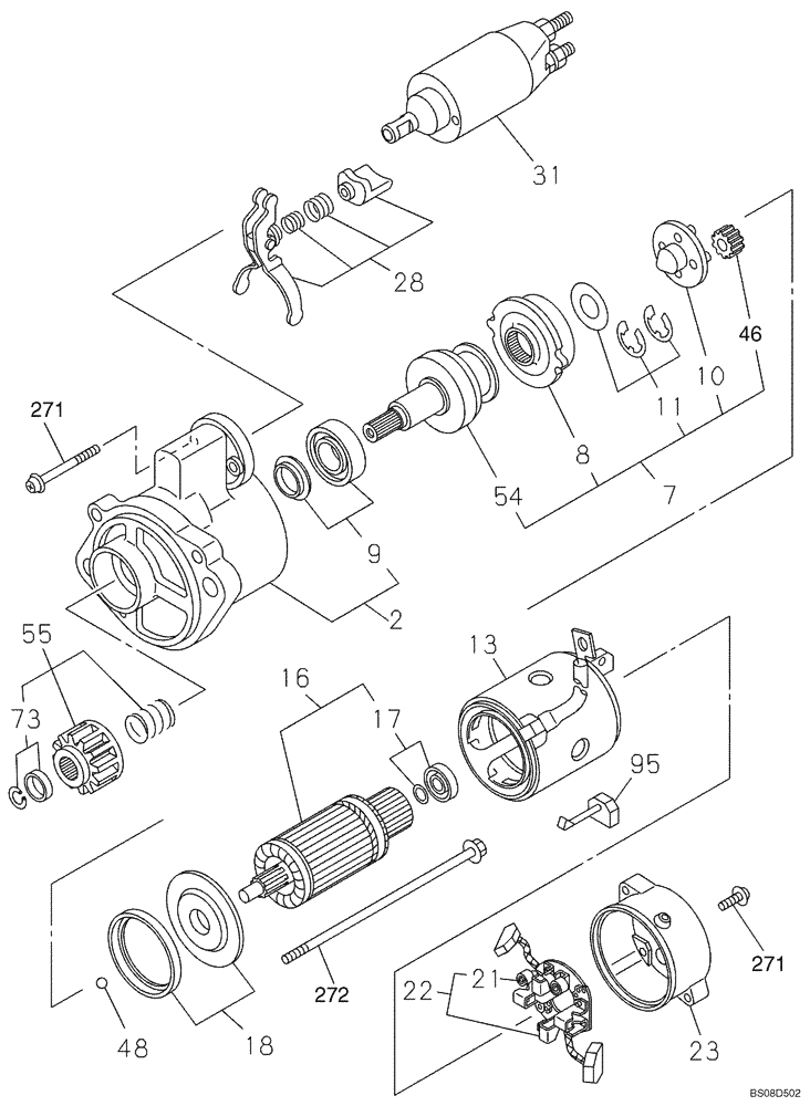
31
28
11
17
21
48
18
16
271
73
22
10
13
55
8
2
7
54
9
23
271
272
95
46
FIT
1:1
100%

Артикул

Название

Примечание

Количество

87714517

STARTER MOTOR

1шт.

2

84123500

CASE, Incl 9

1шт.

7

84123502

CLUTCH, Incl 8, 10, 11, 46, 54

1шт.

8

84123503

BRACKET

1шт.

9

84123504

BEARING

1шт.

10

84123505

SHAFT

1шт.

11

365875A1

WASHER

1шт.

13

84123506

STATOR

YOKE

1шт.

16

84123507

PROTECTING COVER

ARMATURE, Incl 17

1шт.

17

438001A1

BALL BEARING

1шт.

18

365840A1

GASKET

1шт.

22

365849A1

HOLDER

1шт.

23

84123508

COVER

1шт.

28

365862A1

LEVER

1шт.

31

365863A1

SWITCH

1шт.

46

365866A1

GEAR

4шт.

48

365867A1

BALL

1шт.

54

84123510

CLUTCH

1шт.

55

84123511

PINION, Incl 73

1шт.

73

365874A1

STOP

1шт.

95

365839A1

BRUSH, COMMUTATOR

BRUSH

2шт.

271

365864A1

KIT

1шт.

272

84123509

BOLT

1шт.

Выбрано товаров: 23