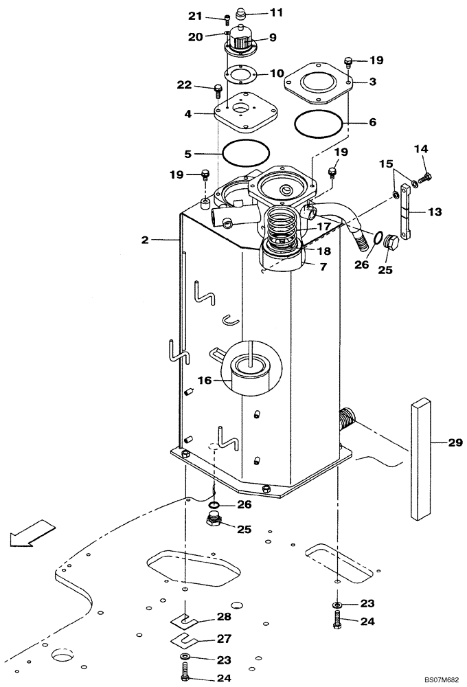
Запчасти Case CX80 (08-01) - HYDRAULIC RESERVOIR (08) - HYDRAULICS

Схема запчастей Case CX80 - (08-01) - HYDRAULIC RESERVOIR (08) - HYDRAULICS
15
29
14
18
11
23
3
24
20
26
24
9
19
27
16
25
28
19
19
26
22
5
10
23
21
17
2
25
4
7
6
13
FIT
1:1
100%

Артикул

Название

Примечание

Количество

2

KAJ11171

RESERVOIR, HYDRAULIC

Incl. 3 - 6, Replaces KAJ11170

1шт.

3

KAJ4611

COVER

1шт.

4

KAJ4825

COVER

Breather

1шт.

5

KHJ2040

O-RING

1шт.

6

154776A1

O-RING

1шт.

7

KAJ11040

HYDRAULIC OIL FILTER

1шт.

KHJ2322

BREATHER

Incl. 9 - 11

1шт.

9

159702A1

HYDRAULIC OIL FILTER

1шт.

10

NSS

NOT SOLD SEPARAT

PACKING

1шт.

11

KHJ1492

CAP

1шт.

163560A1

SIGHTGLASS

Incl. 3 - 6

1шт.

13

163561A1

GAUGE

1шт.

14

159492A1

BOLT

2шт.

15

159493A1

SEALING WASHER

SEAL WASHER

4шт.

16

KAJ10630

HYDRAULIC OIL FILTER

1шт.

17

161155A1

SPRING

1шт.

18

153191A1

VALVE

1шт.

19

166351A1

BOLT,Sems, M10 x 20mm

M10X20

6шт.

20

892-11006

LOCK WASHER,M6

4шт.

21

862-6016

HEX SOC SCREW,M6 x 16mm, Cl 12.9

4шт.

22

166347A1

BOLT,Sems, M10 x 30mm

M10X30

4шт.

23

150811A1

WASHER

4шт.

24

627-12045

BOLT,Hex, M12 x 1.75 x 45mm, Cl 10.9, Full Thd

4шт.

25

152924A1

PLUG

1шт.

26

154503A1

O-RING

1шт.

27

KMJ1897

SHIM,0.8mm Thk

2шт.

28

KMJ1898

SHIM,2.0mm Thk

2шт.

29

KAJ4826

SEAL

1шт.

Выбрано товаров: 28