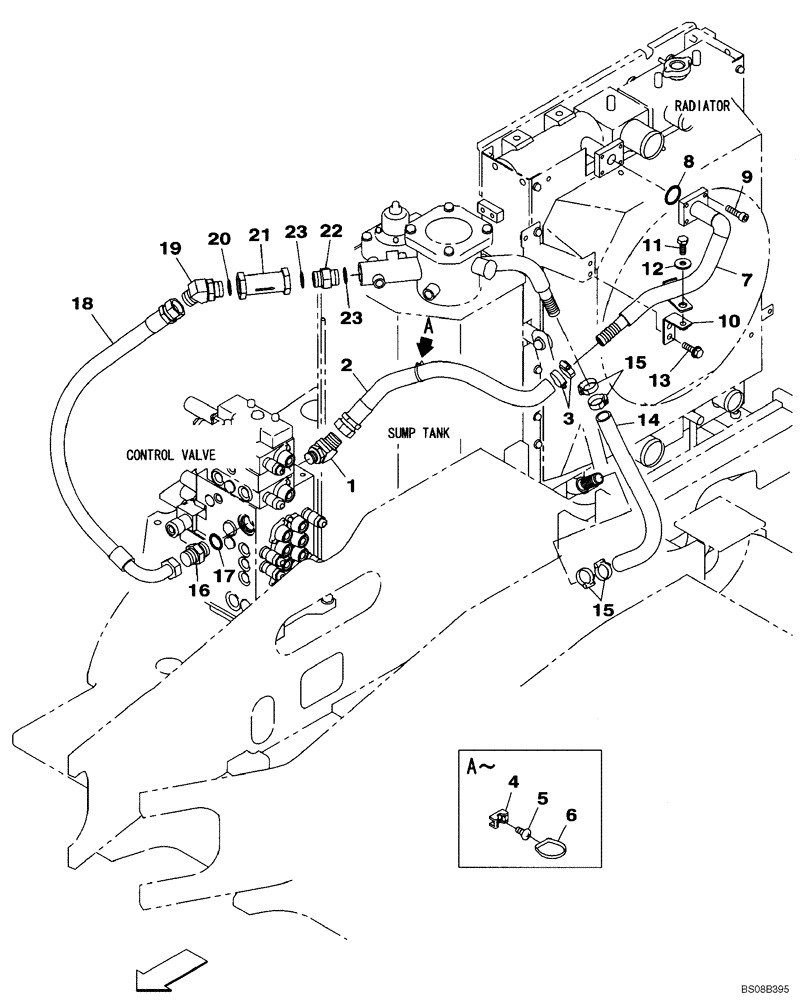
Запчасти Case CX80 (08-05) - HYDRAULICS - RESERVOIR RETURN (08) - HYDRAULICS

Схема запчастей Case CX80 - (08-05) - HYDRAULICS - RESERVOIR RETURN (08) - HYDRAULICS
12
17
23
22
18
10
9
23
11
15
21
8
16
14
15
13
19
1
3
7
4
2
5
20
6
FIT
1:1
100%

Артикул

Название

Примечание

Количество

1

163006A1

ELBOW

1шт.

2

KAJ11560

HYDRAULIC HOSE

1шт.

3

157917A1

COLLAR

2шт.

4

150860A1

COLLAR

1шт.

5

840-168

SCREW,Pan, M6 x 1 x 8mm, Cl 4.8

PIPE, HYDRAULIC

1шт.

6

150496A1

MOUNTING CLIP

1шт.

7

KAJ11570

HYD TUBE

1шт.

8

154549A1

O-RING

1шт.

9

862-8030

HEX SOC SCREW,M8 x 30mm, Cl 12.9

4шт.

10

KAJ11580

SUPPORT

1шт.

11

627-10025

BOLT,Hex, M10 x 1.5 x 25mm, Cl 10.9, Full Thd

1шт.

12

151977A1

WASHER

1шт.

13

166052A1

BOLT

2шт.

14

KAJ10910

HYDRAULIC HOSE

1шт.

15

157917A1

COLLAR

4шт.

16

151655A1

HYD CONNECTOR,1" NPT O-Ring x 1" NPT

Incl. 17

1шт.

17

154523A1

O-RING

1шт.

18

KAJ5079

HYDRAULIC HOSE,25.40 mm ID x 800.00 mm

1шт.

19

157587A1

ELBOW

Incl. 20

1шт.

20

154523A1

O-RING

1шт.

21

KRJ6596

CHECK VALVE

1шт.

22

FAJ0245

FITTING

1шт.

Выбрано товаров: 22