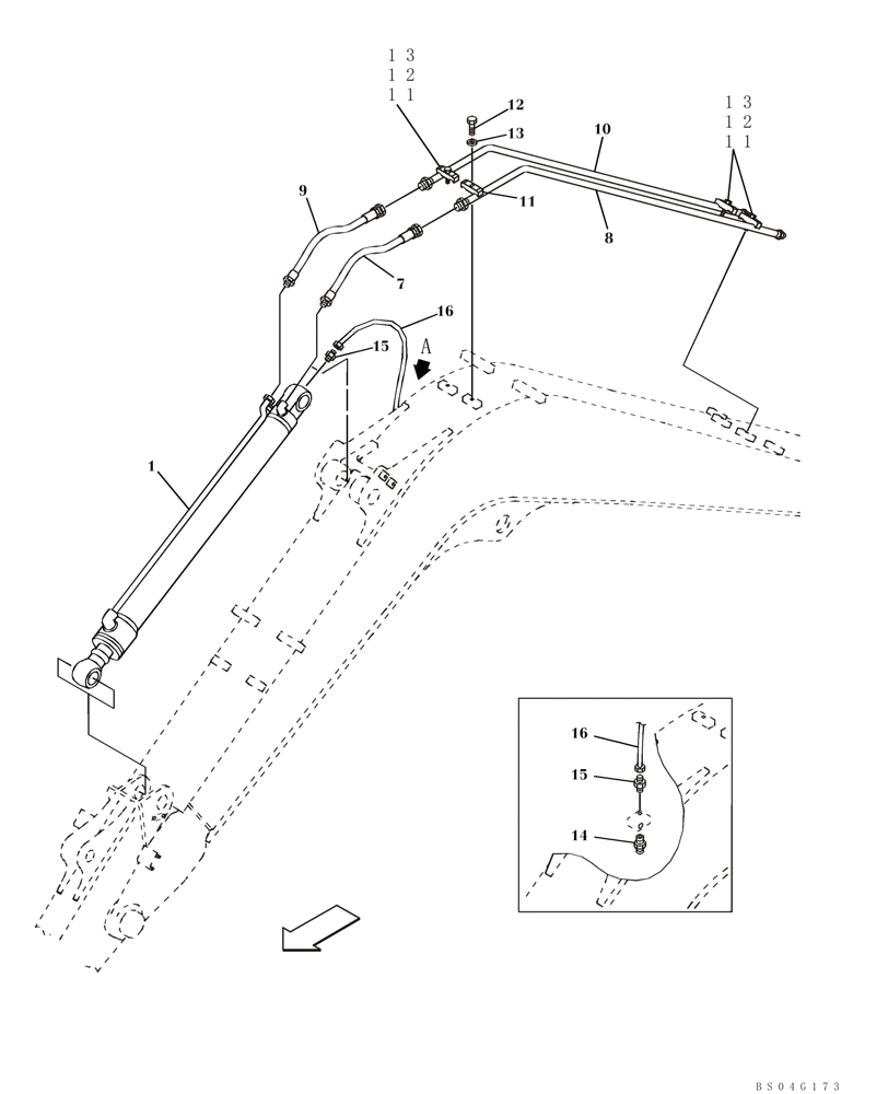
Запчасти Case CX80 (08-26) - HYDRAULICS - ARM CYLINDER, MODELS WITHOUT LOAD HOLD (08) - HYDRAULICS

Схема запчастей Case CX80 - (08-26) - HYDRAULICS - ARM CYLINDER, MODELS WITHOUT LOAD HOLD (08) - HYDRAULICS
10
11
7
12
13
11
bs04g173
16
1
13
11
14
15
9
16
8
13
12
12
a
15
FIT
1:1
100%

Артикул

Название

Примечание

Количество

1

KAV2436

HYDRAULIC CYLINDER

Arm; See Figure 08-92

1шт.

7

166444A1

HYDRAULIC HOSE,15.90 mm ID x 600.00 mm

1шт.

8

KAV2770

HYD TUBE,16.1 mm ID x 21.7 mm OD

1шт.

9

166418A1

HYDRAULIC HOSE,12.70 mm ID x 600.00 mm

1шт.

10

KAV2771

HYD TUBE,16.1 mm ID x 21.7 mm OD

1шт.

11

166400A1

COLLAR

4шт.

12

827-12055

BOLT,Hex, M12 x 1.75 x 55mm, Cl 10.9

4шт.

13

150811A1

WASHER

4шт.

14

153630A1

LUBE NIPPLE

1шт.

15

150190A1

FITTING

2шт.

16

152549A1

TUBE,4.32 mm ID, 6.35 mm OD

1шт.

Выбрано товаров: 11