Запчасти Case CX800 (02-02) - AIR CLEANER (02) - ENGINE

Схема запчастей Case CX800 - (02-02) - AIR CLEANER (02) - ENGINE
7
20
21
10
2
13
5
8
15
17
9
6
4
9
18
7
8
16
11
9
3
19
22
12
14
23
FIT
1:1
100%

Артикул

Название

Примечание

Количество

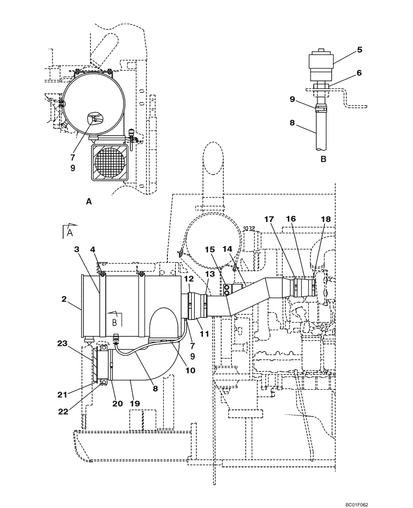
KUH0010

FILTER ASSY

Incl. 2 - 3

1шт.

2

KUH0024

AIR CLEANER

Incl. 2A, 2B

1шт.

2a

KUH0025

AIR FILTER

Inner, Not Illustrated

1шт.

2b

KUH0026

AIR FILTER

Outer, Not Illustrated

1шт.

3

KUH0027

FIXING STRIP

2шт.

4

166052A1

BOLT

With Attached Washer

4шт.

5

KSH0050

INDICATOR

1шт.

6

KRH1236

SEAL

1шт.

7

KRH1237

ELBOW

1шт.

8

167850A1

HOSE

1шт.

9

165951A1

CLAMP

2шт.

10

KHR2787

CLAMP

1шт.

11

KUH0167

AIR FLEXIBLE

1шт.

12

158840A1

BAND,133mm - 158mm

1шт.

13

150855A1

HOSE CLAMP,127mm - 146mm

1шт.

14

KUH0168

AIR INTAKE TUBE,123 mm ID x 127 mm OD

Air Inlet

1шт.

15

166352A1

BOLT

With Attached Washer

2шт.

16

KTH0531

AIR FLEXIBLE

Air

1шт.

17

150545A1

COLLAR

1шт.

18

150294A1

CLAMP,95mm - 115mm

1шт.

19

KUH0057

AIR FLEXIBLE

1шт.

20

KSJ2139

FIXING STRIP

2шт.

21

KUH0072

AIR INTAKE TUBE

Air Inlet

1шт.

22

166052A1

BOLT

With Attached Washer

2шт.

23

KUH0060

SEAL

Cushion

1шт.

Выбрано товаров: 25