Запчасти Case CX800 (08-24) - PILOT CONTROL LINES, TRAVEL - MODELS WITHOUT LOAD HOLD (08) - HYDRAULICS

Схема запчастей Case CX800 - (08-24) - PILOT CONTROL LINES, TRAVEL - MODELS WITHOUT LOAD HOLD (08) - HYDRAULICS
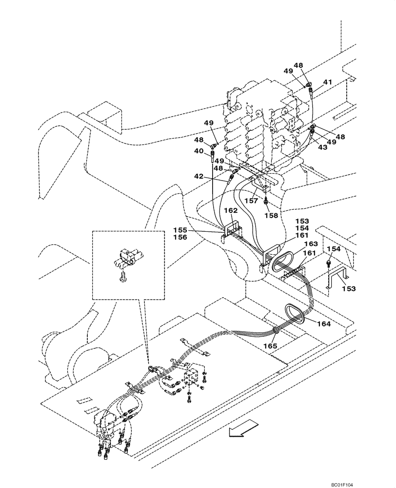
155
162
164
48
154
165
153
42
49
48
161
163
158
154
161
153
48
49
48
157
40
43
41
49
156
49
FIT
1:1
100%

Артикул

Название

Примечание

Количество

Travel

1шт.

Models Without Load Hold

1шт.

40

164941A1

HYDRAULIC HOSE,6.40 mm ID x 4500.00 mm

See Figure 08-23

1шт.

41

164941A1

HYDRAULIC HOSE,6.40 mm ID x 4500.00 mm

See Figure 08-23

1шт.

42

164941A1

HYDRAULIC HOSE,6.40 mm ID x 4500.00 mm

See Figure 08-23

1шт.

43

164941A1

HYDRAULIC HOSE,6.40 mm ID x 4500.00 mm

See Figure 08-23

1шт.

48

156554A1

ELBOW

Incl. 49

4шт.

49

154467A1

O-RING,10.8mm ID x 2.4mm Width

1шт.

153

KHJ1249

CLAMP

2шт.

154

166350A1

BOLT

With Attached Washer

4шт.

155

159040A1

CLAMP

1шт.

156

166350A1

BOLT

With Attached Washer

2шт.

157

159039A1

CLAMP

1шт.

158

166350A1

BOLT

With Attached Washer

2шт.

161

KHJ1250

SEAL, RUBBER

RUBBER SEAL

2шт.

162

159028A1

RUBBER BLOCK

Rubber

1шт.

163

KTA1036

SEAL, RUBBER

RUBBER SEAL

1шт.

164

KRA1395

SEAL, RUBBER

RUBBER SEAL

1шт.

165

150071A1

MOUNTING CLIP

1шт.

Выбрано товаров: 19