Запчасти Case CX800 (08-40) - HYDRAULICS - PILOT PRESSURE, RETURN LINES (08) - HYDRAULICS

Схема запчастей Case CX800 - (08-40) - HYDRAULICS - PILOT PRESSURE, RETURN LINES (08) - HYDRAULICS
84
92
109
93
95
85
77
110
83
33
96
79
83
87
17
84
78
16
94
91
88
86
90
98
81
97
83
86
84
85
82
108
FIT
1:1
100%

Артикул

Название

Примечание

Количество

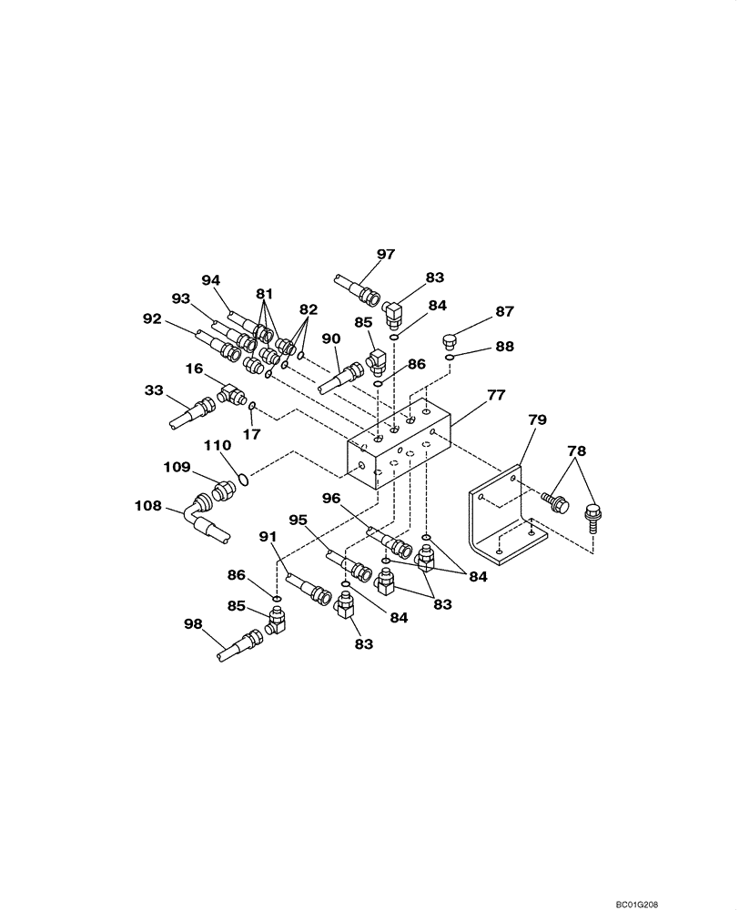
16

150916A1

ELBOW,90 Degree, 3/8" O-Ring x 3/8"

Incl.17

1шт.

17

154475A1

O-RING

1шт.

33

152904A1

HOSE

See Figure 08-38

1шт.

77

KUJ0321

MANIFOLD VALVE

See Figure 08-39

1шт.

78

152718A1

BOLT,Spcl, Hex Wshr, M12 x 25mm, Cl 10.9

4шт.

79

KTJ2121

BRACKET

1шт.

81

152128A1

HYD CONNECTOR,3/8" NPT O-Ring x 3/8" NPT

Incl. 82

3шт.

82

154475A1

O-RING

1шт.

83

150913A1

ELBOW,90 Degree, 1/4" O-Ring x 1/4"

Incl. 84

4шт.

84

154467A1

O-RING,10.8mm ID x 2.4mm Width

1шт.

85

150916A1

ELBOW,90 Degree, 3/8" O-Ring x 3/8"

Incl. 86

2шт.

86

154475A1

O-RING

1шт.

87

159002A1

PLUG

If Used, Incl. 88

1шт.

88

154467A1

O-RING,10.8mm ID x 2.4mm Width

1шт.

90

157969A1

HOSE

See Figure 08-37

1шт.

91

159071A1

HOSE

See Figure 08-39

1шт.

92

KMJ1989

HOSE

See Figure 08-39

1шт.

93

KBJ2224

HOSE

See Figure 08-39

1шт.

94

159011A1

HOSE ASSY.

See Figure 08-39

1шт.

95

161491A1

HOSE

See Figure 08-39

1шт.

96

161658A1

HOSE ASSY.

See Figure 08-39

1шт.

97

KHJ1608

HOSE

See Figure 08-39

1шт.

98

152763A1

HOSE ASSY.

See Figure 08-37

1шт.

108

KAJ2241

HYDRAULIC HOSE,12.70 mm ID x 1300.00 mm

See Figure 08-37

1шт.

109

151650A1

HYD CONNECTOR,1/2" NPT O-Ring x 1/2" NPT

Incl. 110

1шт.

110

154487A1

O-RING

1шт.

Выбрано товаров: 26