Запчасти Case CX800 (08-41) - HYDRAULICS - SINGLE ACTING CIRCUIT/HAMMER (08) - HYDRAULICS

Схема запчастей Case CX800 - (08-41) - HYDRAULICS - SINGLE ACTING CIRCUIT/HAMMER (08) - HYDRAULICS
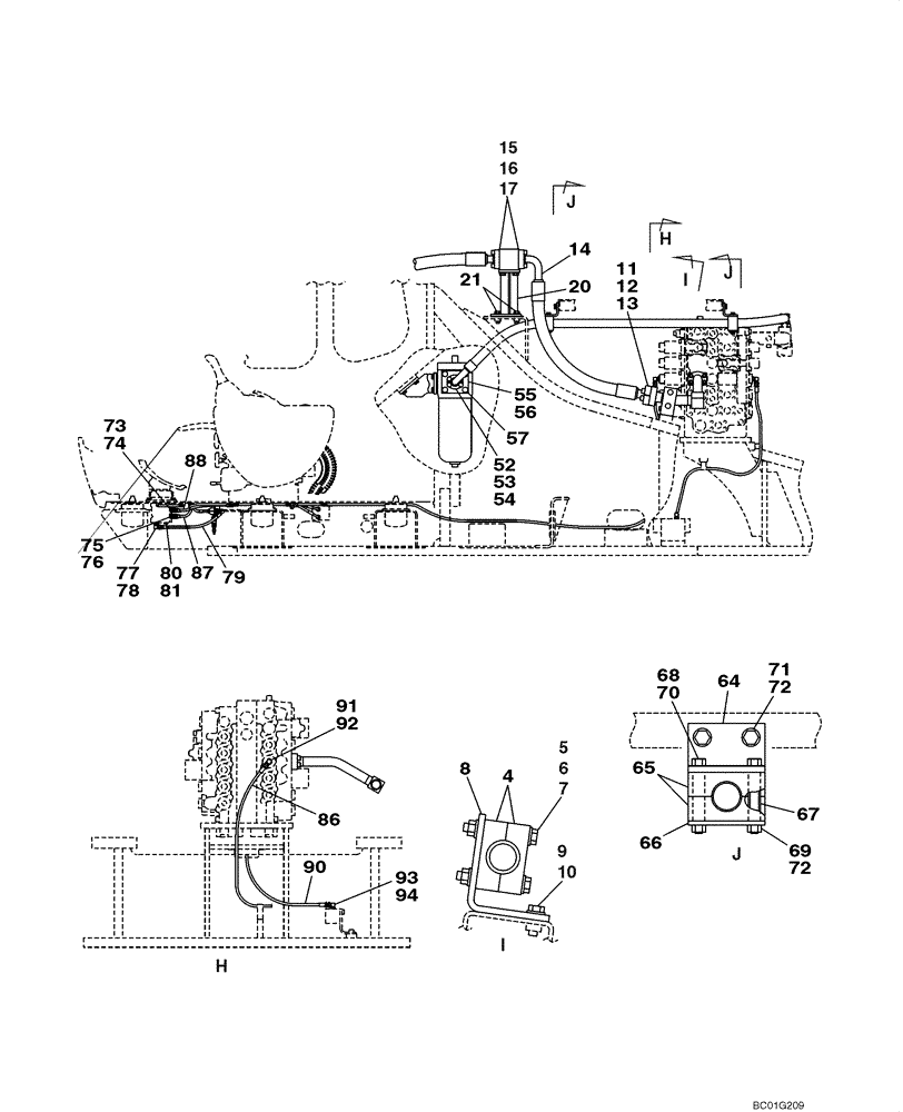
4
54
57
6
17
69
12
92
20
78
72
72
73
8
71
80
68
10
64
56
75
90
70
94
81
5
7
15
52
21
74
87
77
53
11
55
14
65
91
13
67
16
79
88
66
76
93
86
9
FIT
1:1
100%

Артикул

Название

Примечание

Количество

4

KUJ0112

PIPE CLAMP

2шт.

5

827-12090

BOLT,Hex, M12 x 1.75 x 90mm, Cl 10.9

2шт.

6

150811A1

WASHER

M12

4шт.

7

829-1412

NUT,M12, Cl 10.9

2шт.

8

KUJ0113

BRACKET

1шт.

9

627-12040

BOLT,Hex, M12 x 1.75 x 40mm, Cl 10.9, Full Thd

2шт.

10

150811A1

WASHER

M12

2шт.

11

168211A1

O-RING

1шт.

12

KTJ0169

FLANGE

Split

2шт.

13

862-16050

HEX SOC SCREW,M16 x 50mm, Cl 12.9

4шт.

14

KUJ0261

HYDRAULIC HOSE,38.10 mm ID x 1040.00 mm

1шт.

15

164450A1

O-RING

2шт.

16

150124A1

FLANGE

Split

4шт.

17

862-14040

HEX SOC SCREW,M14 x 40mm, Cl 12.9

8шт.

20

KUJ0392

BRACKET

1шт.

21

165929A1

BOLT,Sems, M16

With Attached Washer

4шт.

52

164450A1

O-RING

1шт.

53

157856A1

CLAMP BRACKET

Split

2шт.

54

862-10030

HEX SOC SCREW,M10 x 30mm, Cl 12.9

4шт.

55

154721A1

O-RING,99.4mm ID x 3.1mm Width

1шт.

56

KUJ0155

COUPLING FLANGE

Flat

1шт.

57

627-16050

BOLT,Hex, M16 x 2 x 50mm, Cl 10.9, Full Thd

4шт.

64

KUJ0253

BRACKET

1-2шт.

65

KUJ0252

HOSE CLAMP

4шт.

66

KUJ0034

SHEET

2шт.

67

KUJ0036

SPACER

4шт.

68

814-10100

BOLT,Hex, M10 x 1.5 x 100mm, Cl 8.8

2-4шт.

68a

827-10090

BOLT,Hex, M10 x 1.5 x 90mm, Cl 10.9

Not Illustrated

2шт.

69

829-1410

NUT,M10 x 1.5, Cl 10.9

2-4шт.

70

150409A1

WASHER

10,5 x 21 x 3,2 mm

6-8шт.

71

627-12035

BOLT,Hex, M12 x 1.75 x 35mm, Cl 10.9, Full Thd

2-4шт.

72

150811A1

WASHER

M12

2-4шт.

73

150933A1

ELBOW

Incl. 74

1шт.

74

154467A1

O-RING,10.8mm ID x 2.4mm Width

1шт.

75

KHJ0994

ADAPTER

Incl. 76

1шт.

76

154467A1

O-RING,10.8mm ID x 2.4mm Width

1шт.

77

150913A1

ELBOW,90 Degree, 1/4" O-Ring x 1/4"

Incl. 78

1шт.

78

154467A1

O-RING,10.8mm ID x 2.4mm Width

1шт.

79

161483A1

HOSE ASSY.

See Figure 08-42

1шт.

80

159002A1

PLUG

Incl. 81

1шт.

81

154467A1

O-RING,10.8mm ID x 2.4mm Width

1шт.

86

KTJ1786

HOSE

See Figure 08-42

1шт.

87

164236A1

HOSE ASSY.

1000 mm (39-3/8 in), See Figure 08-42

1шт.

88

159019A1

HOSE ASSY.

900 mm (35-1/2 in), See Figure 08-42

1шт.

90

KHJ2255

HOSE

1шт.

91

156554A1

ELBOW

Incl. 92

2шт.

92

154467A1

O-RING,10.8mm ID x 2.4mm Width

1шт.

93

150913A1

ELBOW,90 Degree, 1/4" O-Ring x 1/4"

Incl. 94

1шт.

94

154467A1

O-RING,10.8mm ID x 2.4mm Width

1шт.

Выбрано товаров: 49