Запчасти Case CX800 (08-43A) - HYDRAULICS - DOUBLE ACTING CIRCUIT (08) - HYDRAULICS

Схема запчастей Case CX800 - (08-43A) - HYDRAULICS - DOUBLE ACTING CIRCUIT (08) - HYDRAULICS
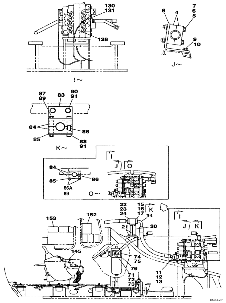
131
126
72
88
152
13
9
91
84
76
75
20
16
130
74
75
145
85
5
87
84
90
15
71
85
4
86
91
86a
83
21
14
23
12
22
24
17
86
153
6
7
89
10
73
89
8
FIT
1:1
100%

Артикул

Название

Примечание

Количество

4

KUJ0112

PIPE CLAMP

2шт.

5

827-12090

BOLT,Hex, M12 x 1.75 x 90mm, Cl 10.9

2шт.

6

150811A1

WASHER

M12

4шт.

7

829-1412

NUT,M12, Cl 10.9

2шт.

8

KUJ0113

BRACKET

1шт.

9

627-12040

BOLT,Hex, M12 x 1.75 x 40mm, Cl 10.9, Full Thd

2шт.

10

150811A1

WASHER

M12

2шт.

11

168211A1

O-RING

1шт.

12

KTJ0169

FLANGE

Split

2шт.

13

862-16050

HEX SOC SCREW,M16 x 50mm, Cl 12.9

4шт.

14

KUJ0261

HYDRAULIC HOSE,38.10 mm ID x 1040.00 mm

1шт.

15

164450A1

O-RING

1шт.

16

150124A1

FLANGE

Split

2шт.

17

862-14040

HEX SOC SCREW,M14 x 40mm, Cl 12.9

4шт.

20

KUJ0392

BRACKET

1шт.

21

627-16050

BOLT,Hex, M16 x 2 x 50mm, Cl 10.9, Full Thd

4шт.

896-11016

WASHER,17.5mm ID x 30mm OD x 4mm Thk

4шт.

22

164450A1

O-RING

1шт.

23

150124A1

FLANGE

2шт.

24

862-14040

HEX SOC SCREW,M14 x 40mm, Cl 12.9

4шт.

71

164450A1

O-RING

1шт.

72

157856A1

CLAMP BRACKET

Split

2шт.

73

862-10030

HEX SOC SCREW,M10 x 30mm, Cl 12.9

4шт.

74

154721A1

O-RING,99.4mm ID x 3.1mm Width

1шт.

75

KUJ0155

COUPLING FLANGE

Flat

1шт.

76

627-16050

BOLT,Hex, M16 x 2 x 50mm, Cl 10.9, Full Thd

4шт.

83

KUJ0253

BRACKET

1шт.

84

KUJ0252

HOSE CLAMP

4шт.

85

KUJ0034

SHEET

2шт.

86

KUJ0036

SPACER

4шт.

86a

827-10090

BOLT,Hex, M10 x 1.5 x 90mm, Cl 10.9

2шт.

87

827-10100

BOLT,Hex, M10 x 1.5 x 100mm, Cl 10.9

2шт.

88

829-1410

NUT,M10 x 1.5, Cl 10.9

2шт.

89

150409A1

WASHER

10,5 x 21 x 3,2 mm

6шт.

90

627-12035

BOLT,Hex, M12 x 1.75 x 35mm, Cl 10.9, Full Thd

2шт.

91

150811A1

WASHER

M12

2шт.

126

MPJ5370

HOSE

1шт.

130

156554A1

ELBOW

Incl. 131

1шт.

131

154467A1

O-RING,10.8mm ID x 2.4mm Width

1шт.

145

KHR2948

SWITCH

1шт.

152

KSP0857

DECAL

1шт.

153

KHP1755

DECAL

1шт.

Выбрано товаров: 42