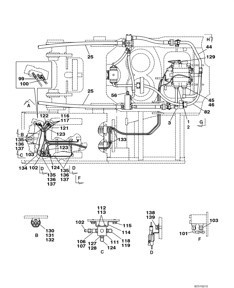
Запчасти Case CX800 (08-45) - HYDRAULICS - MULTIFUNCTION AUXILIARY (08) - HYDRAULICS

Схема запчастей Case CX800 - (08-45) - HYDRAULICS - MULTIFUNCTION AUXILIARY (08) - HYDRAULICS
138
46
128
102
45
135
106
137
133
122
118
134
136
139
56
137
103
119
1
112
123
136
114
82
111
127
25
99
101
102
2
124
136
132
3
135
117
116
123
135
25
131
44
130
107
124
121
103
137
115
100
113
129
FIT
1:1
100%

Артикул

Название

Примечание

Количество

1

164450A1

O-RING

1шт.

2

862-14040

HEX SOC SCREW,M14 x 40mm, Cl 12.9

4шт.

3

KUJ0247

TUBE ASSY.,34.7 mm ID x 42.7 mm OD

1шт.

25

KUJ0265

HYDRAULIC HOSE

2шт.

44

KUJ10010

TUBE ASSY.,38.6 mm ID x 48.6 mm OD

1шт.

45

164450A1

O-RING

1шт.

46

862-14040

HEX SOC SCREW,M14 x 40mm, Cl 12.9

4шт.

56

162656A1

VALVE

1шт.

82

KUJ0251

HYDRAULIC HOSE

1шт.

99

161483A1

HOSE ASSY.

1шт.

100

165147A1

HOSE ASSY.

1шт.

101

164236A1

HOSE ASSY.

1000 mm (39-3/8 in), See Figure 08-44

1шт.

102

159013A1

HOSE ASSY.

See Figure 08-44

1шт.

103

159235A1

HYDRAULIC HOSE

850 mm (KRJ3572)

1шт.

104

152127A1

HYD CONNECTOR,1/4" NPT O-Ring x 1/4" NPT

Incl. 105

2шт.

105

154467A1

O-RING,10.8mm ID x 2.4mm Width

1шт.

106

159497A1

TEE

Incl. 107

1шт.

107

154467A1

O-RING,10.8mm ID x 2.4mm Width

1шт.

108

KHJ17100

VALVE PRESSURE RELIE

; Replaces KHJ1655

1шт.

109

827-8055

BOLT,Hex, M8 x 1.25 x 55mm, Cl 10.9

2шт.

110

153081A1

WASHER

2шт.

111

162538A1

VALVE

See Figure 08-72

1шт.

112

627-6012

BOLT,Hex, M6 x 1 x 12mm, Cl 10.9, Full Thd

2шт.

113

892-11006

LOCK WASHER,M6

2шт.

114

KRJ5751

BRACKET

1шт.

115

166346A1

BOLT,Sems, M10

With Attached Washer

2шт.

116

152127A1

HYD CONNECTOR,1/4" NPT O-Ring x 1/4" NPT

Incl. 117

3шт.

117

154467A1

O-RING,10.8mm ID x 2.4mm Width

1шт.

118

150913A1

ELBOW,90 Degree, 1/4" O-Ring x 1/4"

Incl. 119

1шт.

119

154467A1

O-RING,10.8mm ID x 2.4mm Width

1шт.

121

MPJ5370

HOSE

See Figure 08-44

1шт.

122

165149A1

HOSE ASSY.

See Figure 08-47

1шт.

123

161272A1

HOSE

1шт.

124

KHJ1932

HOSE

See Figure 08-46

1шт.

127

150913A1

ELBOW,90 Degree, 1/4" O-Ring x 1/4"

Incl. 128

1шт.

128

154467A1

O-RING,10.8mm ID x 2.4mm Width

1шт.

129

KHJ1178

ELBOW

1шт.

130

150860A1

COLLAR

1шт.

131

840-168

SCREW,Pan, M6 x 1 x 8mm, Cl 4.8

1шт.

132

150496A1

MOUNTING CLIP

250 mm (10 in)

1шт.

133

150071A1

MOUNTING CLIP

2шт.

134

KHR3351

HARNESS

1шт.

135

150860A1

COLLAR

5шт.

136

840-168

SCREW,Pan, M6 x 1 x 8mm, Cl 4.8

5шт.

137

150496A1

MOUNTING CLIP

250 mm (10 in)

5шт.

138

165405A1

CLIP

2шт.

139

156559A1

BOLT,High Strength, Hex, M6 x 12mm, W/ LW

2шт.

141

159599A1

PRESSURE SWITCH

1шт.

Выбрано товаров: 48