Запчасти Case CX800 (02-05) - RADIATOR ASSY (02) - ENGINE

Схема запчастей Case CX800 - (02-05) - RADIATOR ASSY (02) - ENGINE
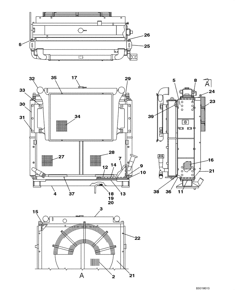
39
30
9
29
4
11
14
6
10
2
36
34
38
23
21
12
17
35
20
27
28
32
13
26
33
21
8
37
15
16
7
31
19
24
5
3
22
18
25
FIT
1:1
100%

Артикул

Название

Примечание

Количество

KUH0113

RADIATOR

Incl. 2 - 39

1шт.

LN00073

RADIATOR

Incl. 2 - 16

1шт.

2

LN00074

RADIATOR

1шт.

3

LW00358

TANK

1шт.

4

LW00359

TANK

1шт.

5

LS00171

SUPPORT

1шт.

6

LS00172

SUPPORT

1шт.

7

LR00755

SUPPORT

4шт.

8

LA00792

BOLT

24шт.

9

LA00793

BOLT

44шт.

10

LE00914

GASKET

2шт.

11

LR00756

PLATE

4шт.

12

LR00757

PLATE

4шт.

13

LR00758

PLATE

2шт.

14

LA00794

BOLT

92шт.

15

LR00759

PLATE

2шт.

16

LE00915

SET OF PARTS

2шт.

17

LR00650

FILLER CAP

1шт.

18

LJ00849

COCK, DRAIN

1шт.

19

LK00342

HOSE

1шт.

20

LA00602

CLIP,ELECTRICAL

1шт.

21

LW00360

SHROUD

1шт.

22

LA00781

BOLT

12шт.

23

LM00069

GUARD

1шт.

24

LA00781

BOLT

5шт.

25

LN00075

COOLER, OIL

1шт.

26

158869A1

BOLT

8шт.

27

LG00393

PROTECTOR

1шт.

28

LG00394

PROTECTOR

1шт.

29

156606A1

BOLT,Wing, M6

4шт.

30

LS00173

BRACKET

2шт.

31

158869A1

BOLT

6шт.

32

LL00082

CONDENSER

1шт.

33

LUG0033

BOLT,Spcl

4шт.

34

LG00395

SIEVE

1шт.

35

156606A1

BOLT,Wing, M6

4шт.

36

LR00760

LARGE PLATE

PLATE, LARGE

2шт.

37

LA00781

BOLT

4шт.

38

LE00916

PACKING

2шт.

39

LE00917

PACKING

2шт.

Выбрано товаров: 40