Запчасти Case CX800 (08-57) - PUMP ASSY, HYDRAULIC - DRIVE (08) - HYDRAULICS

Схема запчастей Case CX800 - (08-57) - PUMP ASSY, HYDRAULIC - DRIVE (08) - HYDRAULICS
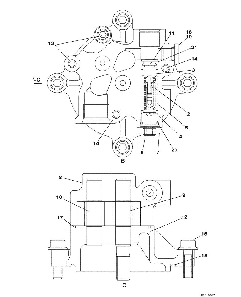
14
21
15
4
10
3
8
16
5
14
2
13
11
7
9
6
17
18
20
12
19
FIT
1:1
100%

Артикул

Название

Примечание

Количество

KUJ0309

PUMP, HYDRAULIC

Includes All Parts On Figures 08-56 - 08-61A

1шт.

87341996

REMAN-HYD PUMP

Remanufactured. HYDRAULIC PUMP, For N.A. Only

1шт.

87341997

CORE-HYDRAULIC PUMP

Return Number, For N.A. Only

1шт.

LJ00575

PUMP, HYDRAULIC

Incl. 2 - 21

1шт.

2

NSS

NOT SOLD SEPARAT

Poppet, Valve

1шт.

3

NSS

NOT SOLD SEPARAT

Seat

1шт.

4

NSS

NOT SOLD SEPARAT

Housing

1шт.

5

160593A1

SPRING

1шт.

6

LV00027

SCREW,Spcl

1шт.

7

163662A1

LOCK NUT

1шт.

8

NSS

NOT SOLD SEPARAT

Housing

1шт.

9

NSS

NOT SOLD SEPARAT

Gear

1шт.

10

NSS

NOT SOLD SEPARAT

Gear

1шт.

11

163663A1

FILTER

1шт.

12

NSS

NOT SOLD SEPARAT

Housing

1шт.

13

LA00593

BOLT,Hex Skt, M8 x 50mm, Cl 12.9

2шт.

14

LA00594

BOLT,Hex Skt, M8 x 65mm, Cl 12.9

2шт.

15

LA00592

BOLT,Hex Skt, M10 x 30mm, Cl 12.9

4шт.

16

LLM0111

PLUG

1шт.

17

163667A1

SEALING RING

Square

1шт.

18

154733A1

O-RING

1шт.

19

154467A1

O-RING,10.8mm ID x 2.4mm Width

1шт.

20

154483A1

O-RING

1шт.

21

163668A1

RING, LOCKING

RING, LOCK

1шт.

Выбрано товаров: 24