Запчасти Case CX800 (08-70) - VALVE ASSY - CONTROL (08) - HYDRAULICS

Схема запчастей Case CX800 - (08-70) - VALVE ASSY - CONTROL (08) - HYDRAULICS
159
94
164
161
154
155
104
101
90
87
98
103
167
89
151
92
163
93
168
150
91
100
92
162
104
102
156
99
95
104
153
160
166
143
163
86
96
143
169
164
166
96
104
158
167
143
152
88
95
165
104
157
165
FIT
1:1
100%

Артикул

Название

Примечание

Количество

Models Without Load Hold

1шт.

KUJ0368

VALVE, CONTROL

Incl. 86 - 169, Also Includes Parts On Figures 08-67 - 08-69, 08-71

1шт.

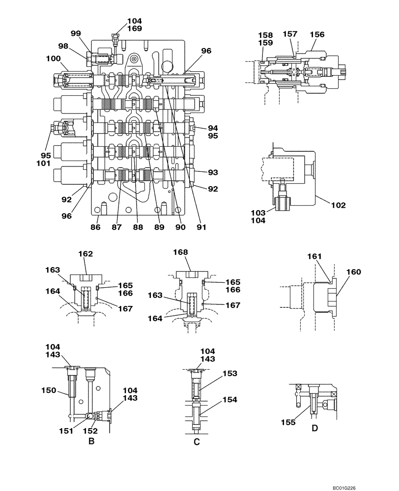
86

NSS

NOT SOLD SEPARAT

Housing

1шт.

87

NSS

NOT SOLD SEPARAT

Spool

1шт.

88

NSS

NOT SOLD SEPARAT

Spool

1шт.

89

NSS

NOT SOLD SEPARAT

Spool

1шт.

90

NSS

NOT SOLD SEPARAT

Spool

1шт.

91

NSS

NOT SOLD SEPARAT

Spool

1шт.

92

108R012Z030N

BOLT

20шт.

93

LW00266

COVER

3шт.

94

156263A1

CAP

1шт.

95

154475A1

O-RING

2шт.

96

LBQ6226

O-RING

10шт.

98

LJ00580

VALVE, PRESSURE RELI

EF Incl. 99

1шт.

99

154555A1

O-RING

1шт.

100

LW00268

COVER

5шт.

101

LK00233

CAP

1шт.

102

LW00269

COVER

2шт.

103

LK00238

PLUG

2шт.

104

154467A1

O-RING,10.8mm ID x 2.4mm Width

6шт.

143

160306A1

CAP

3шт.

150

LJ00595

ORIFICE

1шт.

151

LB00433

BALL

1шт.

152

LR00424

SPRING SEAT

1шт.

153

LG00259

COMPRESSION SPRING

1шт.

154

NSS

NOT SOLD SEPARAT

Spool

1шт.

155

LJ00594

ORIFICE

1шт.

156

LJ00878

VALVE, PRESSURE RELI

EF Incl. 157 - 159

2шт.

157

154523A1

O-RING

1шт.

158

153973A1

BACK-UP RING

1шт.

159

154491A1

O-RING

1шт.

160

156264A1

CAP

2шт.

161

154523A1

O-RING

2шт.

162

LK00231

CAP

2шт.

163

156079A1

SPRING

3шт.

164

LJ00600

CHECK VALVE

3шт.

165

154006A1

BACK-UP RING

3шт.

166

154535A1

O-RING

3шт.

167

155295A1

BALL

3шт.

168

LR00425

CAP

1шт.

169

160901A1

CAP

1шт.

Выбрано товаров: 41