Запчасти Case CX800 (09-10) - FRAMES, COVERS - INSULATION (09) - CHASSIS

Схема запчастей Case CX800 - (09-10) - FRAMES, COVERS - INSULATION (09) - CHASSIS
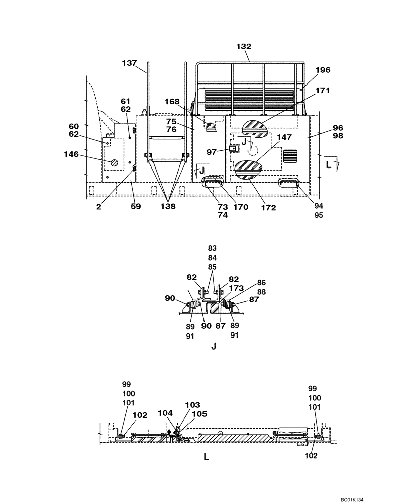
86
62
102
147
83
88
138
172
168
90
104
90
89
97
137
103
89
170
105
59
91
60
87
91
101
82
100
73
95
132
75
99
87
146
100
82
85
99
74
173
101
98
76
62
61
94
96
84
102
171
196
2
FIT
1:1
100%

Артикул

Название

Примечание

Количество

Upper Structure

1шт.

Left Hand Side

1шт.

2

152718A1

BOLT,Spcl, Hex Wshr, M12 x 25mm, Cl 10.9

2шт.

59

KUN0353

COVER

1шт.

60

862-12030

HEX SOC SCREW,M12 x 30mm, Cl 12.9

2шт.

61

863-12045

HEX SOC SCREW,M12 x 45mm, Cl 12.9

2шт.

62

150811A1

WASHER

4шт.

73

159101A1

STAY

1шт.

74

153181A1

COTTER PIN

1шт.

75

KUN0235

COVER

Side, Incl. 76

1шт.

76

162447A1

HINGE

2шт.

82

KUN0399

BRACKET

4шт.

84

895-11008

WASHER,9mm ID x 16mm OD x 1.6mm Thk

8шт.

85

892-11008

LOCK WASHER,8mm ID

8шт.

86

KUN0150

CUPEL

4шт.

87

145S008S020R

SCREW,Flush Hd, M8 x 20mm

8шт.

88

KBN0761

PLATE

8шт.

89

KUN0149

CUPEL

4шт.

90

145S008S020R

SCREW,Flush Hd, M8 x 20mm

8шт.

91

KBN0762

PLATE

4шт.

94

159101A1

STAY

1шт.

95

153181A1

COTTER PIN

1шт.

96

KUN0236

DOOR

Side, Incl. 97, 98

1шт.

97

162434A1

LOCK

1шт.

98

162447A1

HINGE

2шт.

99

627-12040

BOLT,Hex, M12 x 1.75 x 40mm, Cl 10.9, Full Thd

8шт.

100

150811A1

WASHER

M12

8шт.

101

829-1412

NUT,M12, Cl 10.9

8шт.

102

163765A1

ADJUSTING PLATE

1шт.

103

162449A1

BRACKET

1шт.

104

151685A1

BLOCK

1шт.

105

166352A1

BOLT

With Attached Washer

2шт.

132

KUN0161

GRAB RAIL

1шт.

137

KUN0265

GRAB RAIL

1шт.

138

152718A1

BOLT,Spcl, Hex Wshr, M12 x 25mm, Cl 10.9

8шт.

146

KUN0325

INSULATOR

1шт.

147

KUN0326

INSULATOR

1шт.

168

KUN0078

INSULATOR

1шт.

170

KUN0080

INSULATOR

1шт.

171

KUN0081

INSULATOR

1шт.

172

KUN0083

INSULATOR

1шт.

173

KUN0087

SEAL

Cushion

1шт.

196

KUN0394

HOOD ASSY.

1шт.

83

627-8030

BOLT,Hex, M8 x 1.25 x 30mm, Cl 10.9, Full Thd

8шт.

Выбрано товаров: 44