Запчасти Case CX800 (02-10) - MANIFOLD - EXHAUST SYSTEM (02) - ENGINE

Схема запчастей Case CX800 - (02-10) - MANIFOLD - EXHAUST SYSTEM (02) - ENGINE
6
1
7
6
7
10
4
12
6
5
3
4
6
7
12
10
2
4
7
9
5
5
11
5
10
4
8
11
FIT
1:1
100%

Артикул

Название

Примечание

Количество

Isuzu 6WG1TC Emissions Certified Engine

1шт.

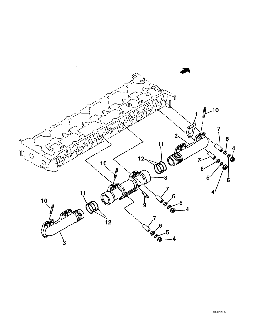
1

426064A1

MANIFOLD GASKET

6шт.

2

426065A1

MANIFOLD

Front

1шт.

3

426066A1

MANIFOLD

Rear

1шт.

4

426067A1

FLANGE NUT

M10

18шт.

5

426068A1

WASHER

2,2 mm

18шт.

6

426069A1

WASHER

5,5 mm

18шт.

7

426070A1

SPACER

18шт.

8

426071A1

MANIFOLD

Center

1шт.

9

87328791

STUD

Replaces 426072A1

2шт.

9

426073A1

STUD

2шт.

10

87603352

STUD

Replaces 362157A1

6шт.

11

426074A1

COMPOSITE RING

2шт.

12

426075A1

COMPOSITE RING

4шт.

Выбрано товаров: 14