Запчасти Case CX800 (09-12) - FRAMES, COVERS - INSULATION (09) - CHASSIS

Схема запчастей Case CX800 - (09-12) - FRAMES, COVERS - INSULATION (09) - CHASSIS
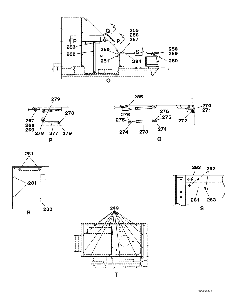
258
250
261
279
279
267
281
270
249
275
282
283
275
285
280
273
276
257
251
272
256
268
278
255
259
284
262
274
269
263
263
274
260
277
281
278
271
276
FIT
1:1
100%

Артикул

Название

Примечание

Количество

Upper Structure

1шт.

Right Hand Front

1шт.

249

166352A1

BOLT

With Attached Washer

12шт.

250

152772A1

HOLDER

2шт.

251

166351A1

BOLT,Sems, M10 x 20mm

With Attached Washer

4шт.

255

627-12030

BOLT,Hex, M12 x 1.75 x 30mm, Cl 10.9, Full Thd

4шт.

256

150811A1

WASHER

M12

4шт.

257

829-1412

NUT,M12, Cl 10.9

4шт.

258

159114A1

BRACKET

1шт.

259

159115A1

ADJUSTING PLATE

2шт.

260

152718A1

BOLT,Spcl, Hex Wshr, M12 x 25mm, Cl 10.9

2шт.

261

159119A1

STAY

1шт.

262

895-11010

WASHER,11mm ID x 20mm OD x 2mm Thk

2шт.

263

153181A1

COTTER PIN

2шт.

267

627-12030

BOLT,Hex, M12 x 1.75 x 30mm, Cl 10.9, Full Thd

4шт.

268

150811A1

WASHER

M12

4шт.

269

829-1412

NUT,M12, Cl 10.9

4шт.

270

159114A1

BRACKET

1шт.

271

159115A1

ADJUSTING PLATE

2шт.

272

152718A1

BOLT,Spcl, Hex Wshr, M12 x 25mm, Cl 10.9

2шт.

273

KSN1053

DAMPER

1шт.

274

705S008A0025

HEADED PIN

2шт.

275

895-11008

WASHER,9mm ID x 16mm OD x 1.6mm Thk

2шт.

276

153077A1

COTTER PIN

2шт.

277

159119A1

STAY

1шт.

278

895-11010

WASHER,11mm ID x 20mm OD x 2mm Thk

2шт.

279

153181A1

COTTER PIN

2шт.

280

KUN0273

BOX

1шт.

281

166351A1

BOLT,Sems, M10 x 20mm

With Attached Washer

4шт.

282

KUN0266

STAY

1шт.

283

166052A1

BOLT

With Attached Washer

2шт.

284

KUN0014

SEAL, RUBBER

RUBBER SEAL

1шт.

285

KUN0015

SEAL, RUBBER

RUBBER SEAL

1шт.

Выбрано товаров: 33