Запчасти Case CX800 (09-15) - HOOD, ENGINE - INSULATION (09) - CHASSIS

Схема запчастей Case CX800 - (09-15) - HOOD, ENGINE - INSULATION (09) - CHASSIS
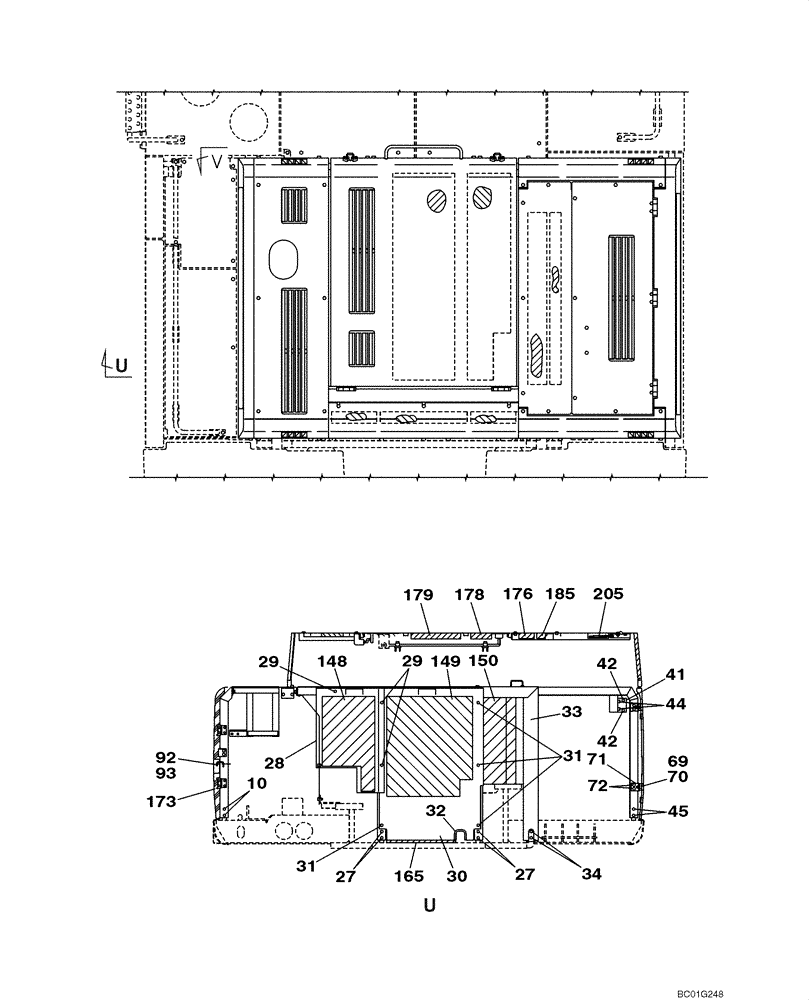
179
41
69
185
27
42
72
44
173
176
150
29
93
33
32
92
165
10
148
71
42
31
31
28
178
45
34
205
30
29
70
149
27
FIT
1:1
100%

Артикул

Название

Примечание

Количество

Upper Structure

1шт.

Detail Of Frame

1шт.

10

152718A1

BOLT,Spcl, Hex Wshr, M12 x 25mm, Cl 10.9

2шт.

27

152718A1

BOLT,Spcl, Hex Wshr, M12 x 25mm, Cl 10.9

4шт.

28

KUN0303

COVER

1шт.

29

166352A1

BOLT

With Attached Washer

3шт.

30

KUN0302

COVER

1шт.

31

166352A1

BOLT

With Attached Washer

6шт.

32

KHR3084

GASKET

1шт.

33

KUN0301

COVER

See Figure 09-08

1шт.

34

152718A1

BOLT,Spcl, Hex Wshr, M12 x 25mm, Cl 10.9

4шт.

41

KUN0290

FRAME

See Figure 09-09

1шт.

42

152718A1

BOLT,Spcl, Hex Wshr, M12 x 25mm, Cl 10.9

2шт.

44

166352A1

BOLT

With Attached Washer

2шт.

45

152718A1

BOLT,Spcl, Hex Wshr, M12 x 25mm, Cl 10.9

2шт.

69

862-12030

HEX SOC SCREW,M12 x 30mm, Cl 12.9

2шт.

70

150811A1

WASHER

M12

2шт.

71

KUN0183

BRACKET

2шт.

72

166352A1

BOLT

With Attached Washer

4шт.

92

KUN0253

STAY

1шт.

93

167647A1

SPLIT PIN/SAFETY PIN

1шт.

148

KUN0327

INSULATOR

See Figure 09-08

1шт.

149

KUN0328

INSULATOR

See Figure 09-08

1шт.

150

KUN0329

INSULATOR

See Figure 09-08

1шт.

165

KUN0346

SEAL

Cushion

1шт.

173

KUN0087

SEAL

Cushion

1шт.

176

KUN0360

INSULATOR

See Figure 09-14

1шт.

178

KUN0362

INSULATOR

See Figure 09-14

1шт.

179

KUN0363

INSULATOR

See Figure 09-14

1шт.

185

KUN0376

INSULATOR

See Figure 09-14

1шт.

205

159119A1

STAY

See Figure 09-14

1шт.

Выбрано товаров: 31