Качественные детали и логистика
Оригинальные и аналоговые запчасти с доставкой по России, Казахстану и Беларуси
©2022 PartSell ООО "Система" ИНН 2463123282 ОГРН 1212400004838
Центральный офис: г. Красноярск, Академика Киренского, д.87, пом.4
Телефон: 8 (800) 777-65-74 Email: zakaz@partsell.ru
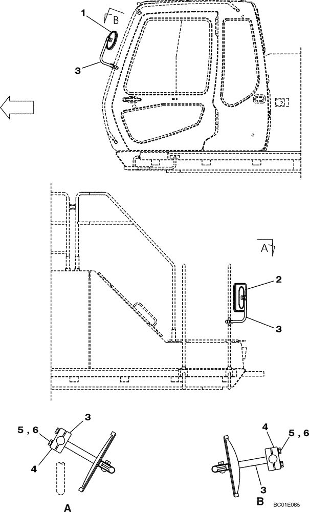
(09-40) - CAB - MIRROR, REAR VIEW
№
Артикул
Название
Примечание
Количество
1
KHP1527
REAR VIEW MIRROR
1шт.
2
KHP1528
3
169337A1
MIRROR ARM
2шт.
4
169338A1
CLAMP
5
828-10045
BOLT,Hex, M10 x 1.5 x 45mm, Cl 10.9
4шт.
892-11010
LOCK WASHER,M10
Выбрано товаров: 0