Запчасти Case CX800 (02-16) - OIL PAN (02) - ENGINE

Схема запчастей Case CX800 - (02-16) - OIL PAN (02) - ENGINE
5b
6
home
1
12
14
9
3
7
2
home
15
5
8
5a
13
10
4
11
FIT
1:1
100%

Артикул

Название

Примечание

Количество

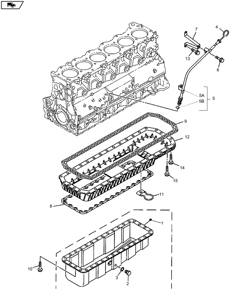
437895A1

PAN, ENGINE OIL

PAN, OIL Incl. 1 - 3; Replaces 288599A1

1шт.

1

NSS

NOT SOLD SEPARAT

Pan, Oil

1шт.

2

289820A1

PLUG

1шт.

3

289081A1

GASKET

Replaces 288713A1

1шт.

4

288600A1

DIPSTICK

1шт.

5

288601A1

TUBE

Assy, Incl. 5A-5B

1шт.

5a

NSS

NOT SOLD SEPARAT

1шт.

5b

NSS

NOT SOLD SEPARAT

1шт.

6

289023A1

BOLT

Replaces 288697A1

2шт.

7

288602A1

SUPPORT

1шт.

8

87422293

GASKET

Replaces 288603A1

1шт.

9

288604A2

GASKET

1шт.

10

288996A1

BOLT

M8 x 25; 10,9

34шт.

11

288605A1

HOSE CLIP

1шт.

12

288606A2

SPACER

1шт.

13

289004A1

BOLT

2шт.

14

426461A1

BOLT

M10 x 50

4шт.

15

289005A1

BOLT

M10 x 32

32шт.

Выбрано товаров: 18