Запчасти Case CX800 (02-17) - OIL PUMP (02) - ENGINE

Схема запчастей Case CX800 - (02-17) - OIL PUMP (02) - ENGINE
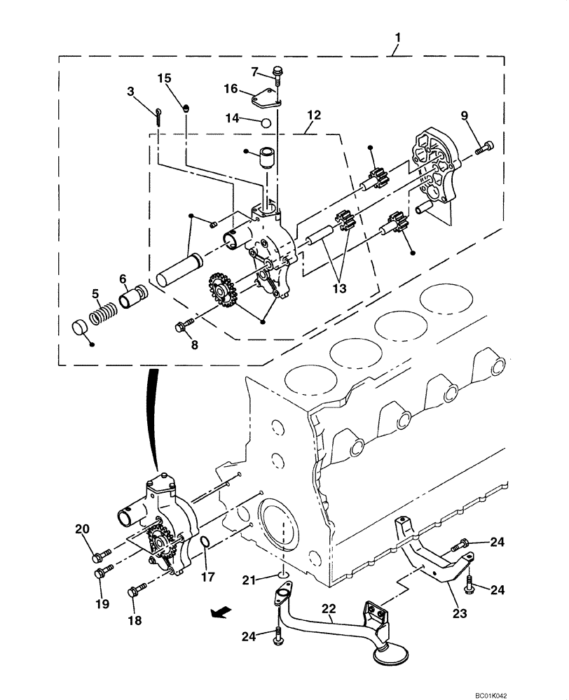
22
9
19
1
15
5
13
17
18
12
8
6
21
16
3
20
24
24
23
24
14
7
FIT
1:1
100%

Артикул

Название

Примечание

Количество

1

426488A1

PUMP, ENGINE OIL

Oil, Incl. 3 - 16

1шт.

3

426501A1

PIN, ROLL

1шт.

5

426624A1

SPRING

1шт.

6

426625A1

VALVE, PRESSURE RELI

EF

1шт.

7

426626A1

BOLT

M8 x 18

3шт.

8

288635A1

BOLT

M10 x 60

1шт.

9

426627A1

BOLT

M8 x 35

2шт.

11

426628A1

COVER

1шт.

12

426630A1

PINION

Incl. 13

1шт.

13

426631A1

PINION

1шт.

14

426633A1

BALL

1шт.

15

426638A1

PLUG

1шт.

16

426639A1

COVER

1шт.

17

426629A1

GASKET

1шт.

18

426199A1

BOLT

M10 x 85

1шт.

19

426632A1

BOLT

M10 x 107

2шт.

20

288575A1

BOLT

M10 x 80

1шт.

21

426629A1

GASKET

1шт.

22

426636A2

STRAINER ASSY.

1шт.

23

426637A1

SUPPORT

1шт.

24

288993A1

FLANGE BOLT

M10 x 20

6шт.

Выбрано товаров: 21