Качественные детали и логистика
Оригинальные и аналоговые запчасти с доставкой по России, Казахстану и Беларуси
©2022 PartSell ООО "Система" ИНН 2463123282 ОГРН 1212400004838
Центральный офис: г. Красноярск, Академика Киренского, д.87, пом.4
Телефон: 8 (800) 777-65-74 Email: zakaz@partsell.ru
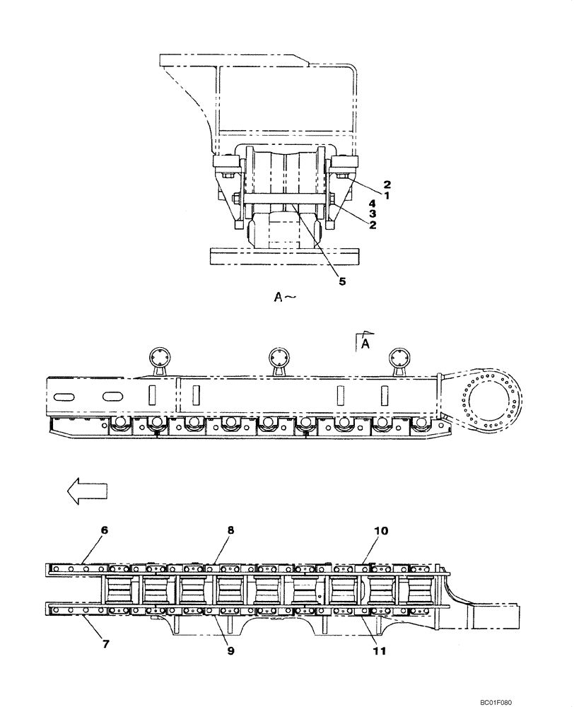
(05-06) - TRACK GUARDS
№
Артикул
Название
Примечание
Количество
1
102R027Y080N
BOLT
48шт.
2
157544A1
WASHER
88шт.
3
KUA0110
20шт.
4
162R027VN
NUT
5
KUA0109
SPACER
6
KUA0131
GUARD
2шт.
7
KUA0134
8
KUA0132
9
KUA0135
10
KUA0133
11
KUA0136
Выбрано товаров: 0