Запчасти Case CX800 (05-07) - TRACK - IDLER (11) - TRACKS/STEERING

Схема запчастей Case CX800 - (05-07) - TRACK - IDLER (11) - TRACKS/STEERING
10
2
4
2
12
20
13
15
24
19
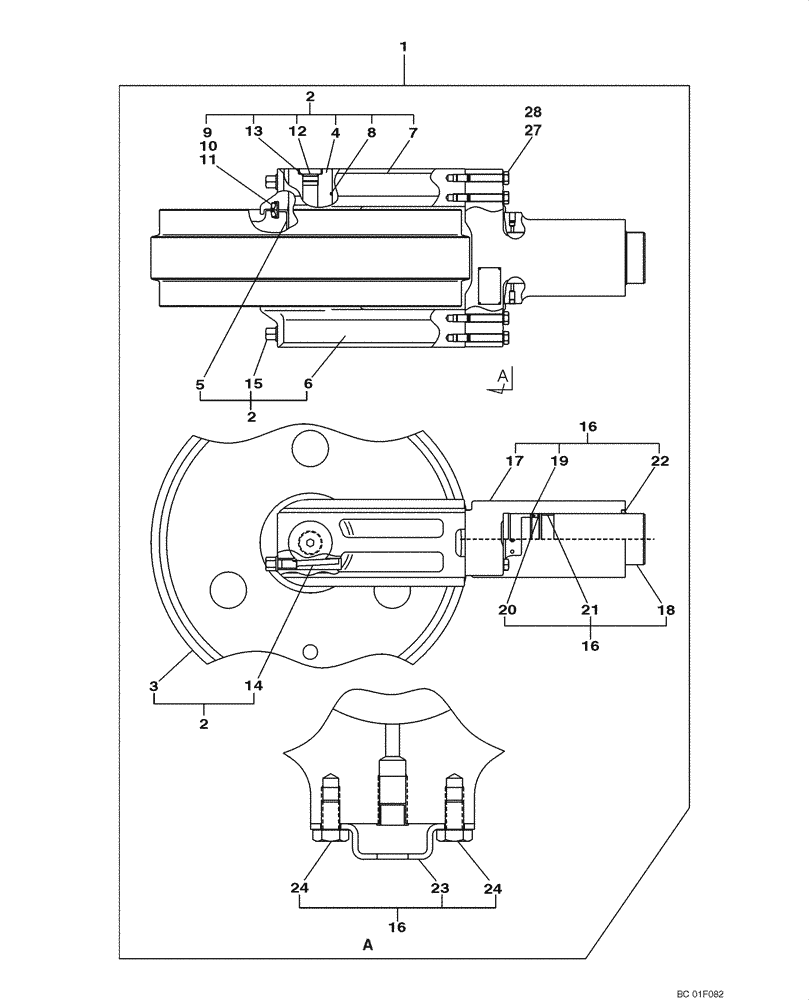
1
2
3
8
16
28
9
16
16
17
18
27
23
7
22
11
14
6
5
21
24
FIT
1:1
100%

Артикул

Название

Примечание

Количество

1

KUA0046

ROLLER ASSY.

Take-Up, Incl. 2 - 28

2шт.

2

KUA0274

YOKE

Incl. 3 - 15

1шт.

3

KUA0209

ROLLER ASSY.

1шт.

4

KUA0210

SHAFT

1шт.

5

KUA0211

BUSHING

2шт.

6

KUA0212

BRACKET

1шт.

7

KUA0213

BRACKET

1шт.

8

KUA0214

RING

2шт.

9

KUA0215

SEAL

Incl. 10, 11

4шт.

10

NSS

NOT SOLD SEPARAT

Ring, Seal

2шт.

11

NSS

NOT SOLD SEPARAT

Seal

2шт.

12

KUA0216

PLUG

1шт.

13

KUA0217

RING

1шт.

14

KUA0200

PIN

2шт.

15

KUA0218

NUT

2шт.

16

KUA0275

CYLINDER ASSY.

Incl. 17 - 24

1шт.

17

KUA0201

YOKE

1шт.

18

KUA0202

PISTON ROD

1шт.

19

KUA0203

CIRCLIP,Ext

1шт.

20

KUA0204

SEAL

1шт.

21

KUA0205

RING

1шт.

22

KUA0206

RING

1шт.

23

KUA0219

COVER PLATE

1шт.

24

KUA0220

BOLT

2шт.

27

KUA0207

BOLT

8шт.

28

KUA0208

WASHER

8шт.

Выбрано товаров: 26