Запчасти Case CX800 (05-08) - TRACK - ADJUSTER (11) - TRACKS/STEERING

Схема запчастей Case CX800 - (05-08) - TRACK - ADJUSTER (11) - TRACKS/STEERING
17
10
9
5
7
8
13
16
11
16
12
11
4
1
6
1
9
2
2
14
3
15
12
FIT
1:1
100%

Артикул

Название

Примечание

Количество

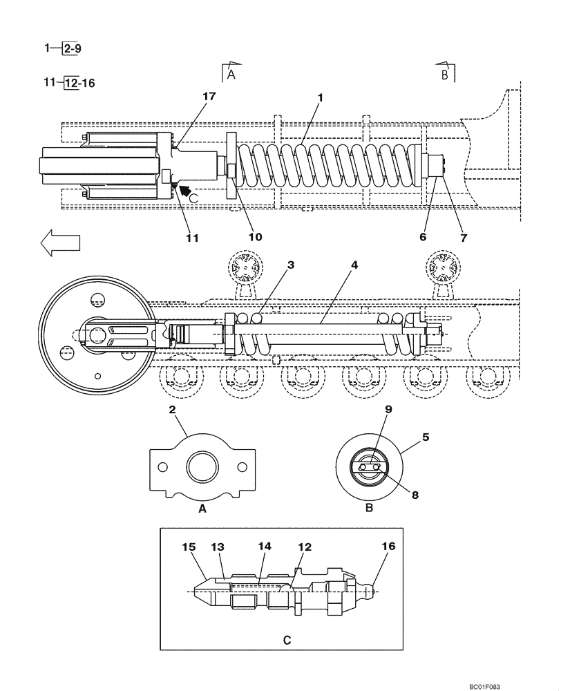
1

KUA0045

TORSION SPRING

Recoil, Incl. 2 - 9

2шт.

2

KUA0255

FLANGE

1шт.

3

KUA0256

SPRING

Recoil

1шт.

4

KUA0257

PISTON ROD

2шт.

5

KUA0258

FLANGE

2шт.

6

KUA0259

RING

Recoil

2шт.

7

KUA0260

PLATE

4шт.

8

KUA0261

BOLT

4шт.

9

KUA0262

PLATE

2шт.

11

150107A1

LUBE NIPPLE

Incl. 12 - 16

2шт.

12

150897A1

BALL

1шт.

13

150112A1

VALVE SEAT

1шт.

14

150115A1

SPRING

1шт.

15

150120A1

CAP

1шт.

16

153630A1

LUBE NIPPLE

1шт.

17

KUA0111

BOLT

2шт.

Выбрано товаров: 16