Запчасти Case CX800 (05-09) - TRACK - ROLLER (11) - TRACKS/STEERING

Схема запчастей Case CX800 - (05-09) - TRACK - ROLLER (11) - TRACKS/STEERING
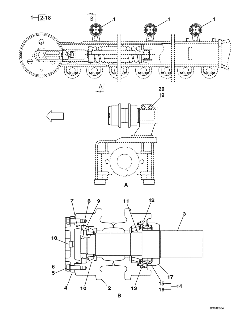
14
8
9
13
2
20
10
18
11
19
17
15
7
12
1
1
16
2
18
1
3
6
5
4
1
FIT
1:1
100%

Артикул

Название

Примечание

Количество

Upper

1шт.

1

KUA0047

ROLLER, TRACK

Incl. 2 - 18

6шт.

2

KUA0238

ROLLER, TRACK

Carrier

1шт.

3

KUA0239

ROLLER SHAFT

Roller

1шт.

4

KUA0240

CAP COVER

1шт.

5

KUA0241

BOLT

4шт.

6

KUA0242

WASHER

4шт.

7

KUA0243

RING

1шт.

8

KUA0244

RING

1шт.

9

KUA0245

NUT

1шт.

10

KUA0246

ROLLER BEARING

1шт.

11

KUA0247

ROLLER BEARING

1шт.

12

KUA0248

RING

1шт.

13

KUA0249

FLANGE

1шт.

14

KUA0252

SEAL

Incl. 15, 16

2шт.

15

NSS

NOT SOLD SEPARAT

Ring, Seal

4шт.

16

NSS

NOT SOLD SEPARAT

Seal

4шт.

17

KUA0253

COLLAR

1шт.

18

KUA0254

PLUG

1шт.

19

627-20100

BOLT,Hex, M20 x 2.5 x 100mm, Cl 10.9, Full Thd

12шт.

20

150817A1

WASHER,21mm ID x 40mm OD x 4.5mm Thk

12шт.

Выбрано товаров: 21