Запчасти Case CX800 (03-02) - FUEL LINES (03) - FUEL SYSTEM

Схема запчастей Case CX800 - (03-02) - FUEL LINES (03) - FUEL SYSTEM
15
2
8
9
1
4
3
10
5
1a
10
6
15
7
3
13
11
12
14
15
10
14
12
15
7
10
13
FIT
1:1
100%

Артикул

Название

Примечание

Количество

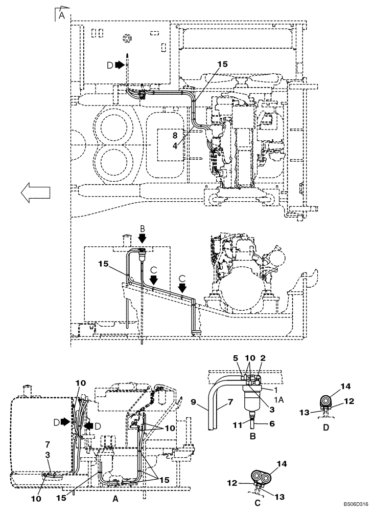
1

KTH0594

WATER TRAP

See Figure 03-02A; No Longer Available, Order KTH0672

1шт.

1a

KTH0672

WATER TRAP

See Figure 03-02B

1шт.

2

166347A1

BOLT,Sems, M10 x 30mm

With Attached Washer

2шт.

3

KHH0456

FUEL HOSE,1700.00 mm

1шт.

4

KHH0459

FUEL HOSE,3400.00 mm

1шт.

5

KHH0458

FUEL HOSE,3600.00 mm

1шт.

6

157636A1

TUBE,9.5 mm ID, 14.5 mm OD

1200 mm (47-1/4 in), Cut From 150613A1

1шт.

7

158064A1

PLASTIC-RUBBER TUBE

1шт.

8

162635A1

TUBE

1шт.

9

162933A1

PLASTIC-RUBBER TUBE

1шт.

10

KHH0405

MOUNTING CLIP

6шт.

11

150067A1

MOUNTING CLIP

150 mm (6 in)

1шт.

12

150860A1

COLLAR

5шт.

13

145N006S008R

SCREW,Pan Hd, M6 x 8mm, Cl 10.9

M6 x 8

5шт.

14

150496A1

MOUNTING CLIP

250 mm (10 in)

5шт.

15

150498A1

MOUNTING CLIP

300 mm (11-3/4 in)

6шт.

Выбрано товаров: 16