Запчасти Case CX800 (03-02A) - KTH0594 WATER SEPARATOR ASSY (03) - FUEL SYSTEM

Схема запчастей Case CX800 - (03-02A) - KTH0594 WATER SEPARATOR ASSY (03) - FUEL SYSTEM
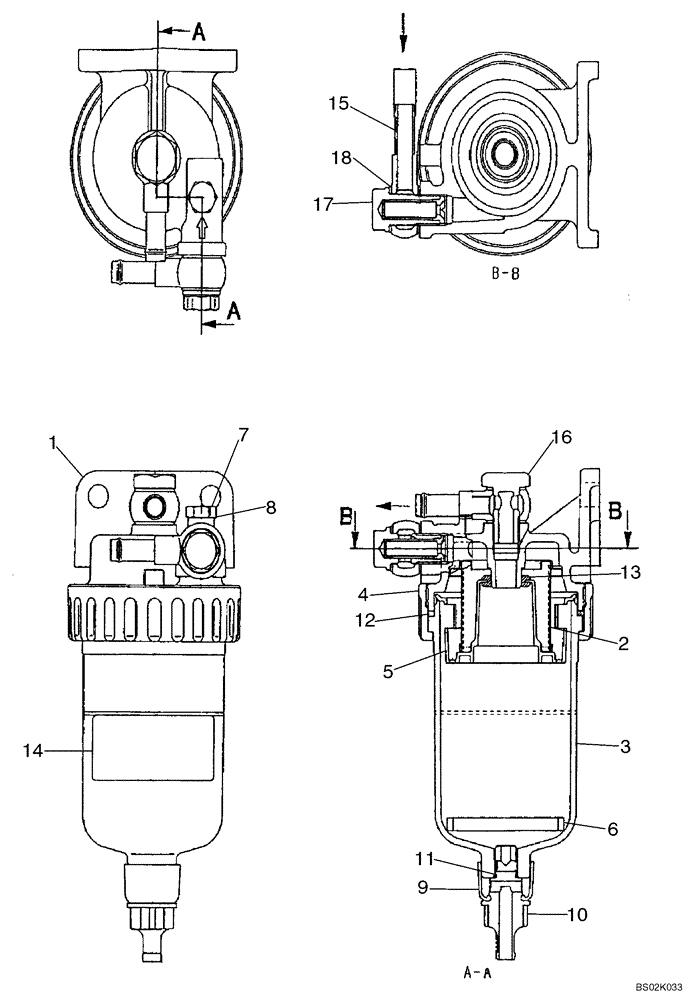
14
4
2
15
5
10
17
16
12
11
6
3
1
18
8
7
13
9
FIT
1:1
100%

Артикул

Название

Примечание

Количество

KTH0594

WATER TRAP

Water Separator; Incl. 1 - 18

1шт.

1

NSS

NOT SOLD SEPARAT

Head

1шт.

2

NSS

NOT SOLD SEPARAT

Screen

1шт.

3

NSS

NOT SOLD SEPARAT

Housing

1шт.

4

NSS

NOT SOLD SEPARAT

Nut, Ring

1шт.

5

NSS

NOT SOLD SEPARAT

Plate, Baffle

1шт.

6

NSS

NOT SOLD SEPARAT

Ring, Level

1шт.

7

169011A1

PLUG

Air Vent

1шт.

8

LEH0005

GASKET

1шт.

9

155353A1

PLUG

1шт.

10

155467A1

PLUG, DRAIN

1шт.

11

154462A1

O-RING

1шт.

12

LE01023

O-RING

1шт.

13

NSS

NOT SOLD SEPARAT

Gasket

1шт.

14

NSS

NOT SOLD SEPARAT

Label

1шт.

15

158679A1

FITTING

2шт.

16

LA00657

BOLT

1шт.

17

KHH0397

BOLT

1шт.

18

158678A1

GASKET

4шт.

Выбрано товаров: 19