Запчасти Case CX800 (03-04) - FUEL SYSTEM (03) - FUEL SYSTEM

Схема запчастей Case CX800 - (03-04) - FUEL SYSTEM (03) - FUEL SYSTEM
3
10
7
13
11
9
9
14
12
8
6
11
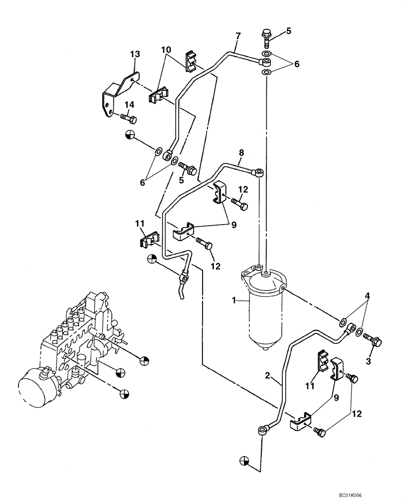
2
12
5
12
1
4
5
6
FIT
1:1
100%

Артикул

Название

Примечание

Количество

Isuzu 6WG1TC Emissions Certified Engine

1шт.

1

426426A1

FILTER ASSY

1шт.

2

426433A1

PIPE

1шт.

3

289104A1

BANJO BOLT

1шт.

4

426423A1

GASKET

2шт.

5

289104A1

BANJO BOLT

2шт.

6

426423A1

GASKET

4шт.

7

426434A1

PIPE

1шт.

8

426435A1

PIPE

1шт.

9

426437A1

MOUNTING CLIP

4шт.

10

426431A1

MOUNTING CLIP

4шт.

11

426432A1

MOUNTING CLIP

2шт.

12

426438A1

BOLT

M6 x 30

4шт.

13

426439A1

SUPPORT

1шт.

14

419935A1

BOLT

M8 x 16

2шт.

Выбрано товаров: 15