Запчасти Case CX800 (04-14) - COUNTERWEIGHT REMOVAL SYSTEM - ELECTRICAL CIRCUIT (04) - ELECTRICAL SYSTEMS

Схема запчастей Case CX800 - (04-14) - COUNTERWEIGHT REMOVAL SYSTEM - ELECTRICAL CIRCUIT (04) - ELECTRICAL SYSTEMS
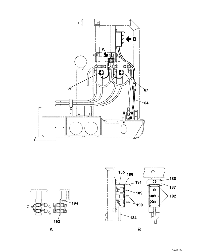
67
187
188
64
190
186
194
191
193
189
192
185
184
67
FIT
1:1
100%

Артикул

Название

Примечание

Количество

Optional

1шт.

64

KUR0097

HARNESS

See Figure 04-01; Replaces KUR0085

1шт.

67

KUJ0288

SOLENOID VALVE

See Figure 08-50

2шт.

184

KUR0090

HARNESS

1шт.

185

150636A1

BOX

1шт.

186

150642A1

PACKING

1шт.

187

KUR0055

COVER

1шт.

188

166052A1

BOLT

2шт.

189

KUR0053

TOGGLE SWITCH

1шт.

190

KUR0054

TOGGLE SWITCH

2шт.

191

KUR0056

PANEL

1шт.

192

150875A1

SCREW,Phil Truss Hd, M4 x 12mm

6шт.

193

KUR0091

BRACKET

1шт.

Выбрано товаров: 13