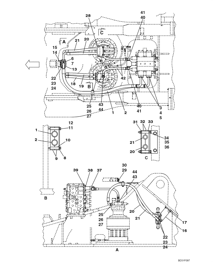
Запчасти Case CX800 (08-10) - HYDRAULICS - SWING (08) - HYDRAULICS

Схема запчастей Case CX800 - (08-10) - HYDRAULICS - SWING (08) - HYDRAULICS
3
13
27
1
2
27
20
9
39
26
31
8
11
22
36
24
15
5
37
29
7
44
26
44
21
16
43
43
2
35
10
40
22
25
41
41
4
38
33
30
24
42
21
25
12
32
20
6
40
14
20
23
19
21
1
18
34
17
23
28
FIT
1:1
100%

Артикул

Название

Примечание

Количество

1

KUJ0224

HYDRAULIC HOSE,31.80 mm ID x 2000.00 mm

1шт.

2

KUJ0225

HYDRAULIC HOSE,31.80 mm ID x 2100.00 mm

1шт.

3

150124A1

FLANGE

Split

8шт.

4

862-14040

HEX SOC SCREW,M14 x 40mm, Cl 12.9

8шт.

5

164450A1

O-RING

2шт.

6

862-14040

HEX SOC SCREW,M14 x 40mm, Cl 12.9

Replaces 102R014Y040R

8шт.

7

164450A1

O-RING

2шт.

8

152888A1

PLATE, SPACER

PLATE,SPACER

1шт.

9

KUJ0213

HOSE CLAMP

2шт.

10

KUJ0036

SPACER

2шт.

11

828-10090

BOLT,Hex, M10 x 1.5 x 90mm, Cl 10.9

2шт.

12

150409A1

WASHER

10,5 x 21 x 3,2 mm

2шт.

13

KUJ0058

MANIFOLD VALVE

1шт.

14

102R014Y025R

BOLT

4шт.

15

150418A1

WASHER

4шт.

16

KUJ0057

BRACKET

1шт.

17

KHN1079

SPECIAL BOLT

4шт.

18

KUJ0218

HYDRAULIC HOSE,25.40 mm ID x 730.00 mm

1шт.

19

KUJ0062

HYDRAULIC HOSE,25.40 mm ID x 700.00 mm

1шт.

20

KUJ0219

HYDRAULIC HOSE,25.40 mm ID x 1520.00 mm

1шт.

21

KUJ0220

HYDRAULIC HOSE,25.40 mm ID x 1550.00 mm

1шт.

22

153459A1

FLANGE

Split

8шт.

23

862-10030

HEX SOC SCREW,M10 x 30mm, Cl 12.9

16шт.

24

155211A1

O-RING

4шт.

25

153458A1

FLANGE

Split

8шт.

26

862-10030

HEX SOC SCREW,M10 x 30mm, Cl 12.9

16шт.

27

155210A1

O-RING

4шт.

28

KUJ0221

BRACKET

1шт.

29

627-12035

BOLT,Hex, M12 x 1.75 x 35mm, Cl 10.9, Full Thd

2шт.

30

150811A1

WASHER

M12

2шт.

31

152888A1

PLATE, SPACER

PLATE,SPACER

1шт.

32

152987A1

COLLAR

2шт.

33

152895A1

SPACER

2шт.

34

814-10100

BOLT,Hex, M10 x 1.5 x 100mm, Cl 8.8

2шт.

35

150409A1

WASHER

10,5 x 21 x 3,2 mm

4шт.

36

829-1410

NUT,M10 x 1.5, Cl 10.9

2шт.

37

KUJ0223

TUBE ASSY.,52.9 mm ID x 60.5 mm OD

1шт.

38

862-12035

HEX SOC SCREW,M12 x 35mm, Cl 12.9

4шт.

39

154681A1

O-RING

1шт.

40

157581A1

ELBOW,90 Degree, 1" O-Ring x 1"

Incl. 41

2шт.

41

154523A1

O-RING

1шт.

42

KUJ0222

HYDRAULIC HOSE,25.40 mm ID x 650.00 mm

2шт.

43

157587A1

ELBOW

Incl. 44

2шт.

44

154523A1

O-RING

1шт.

Выбрано товаров: 44