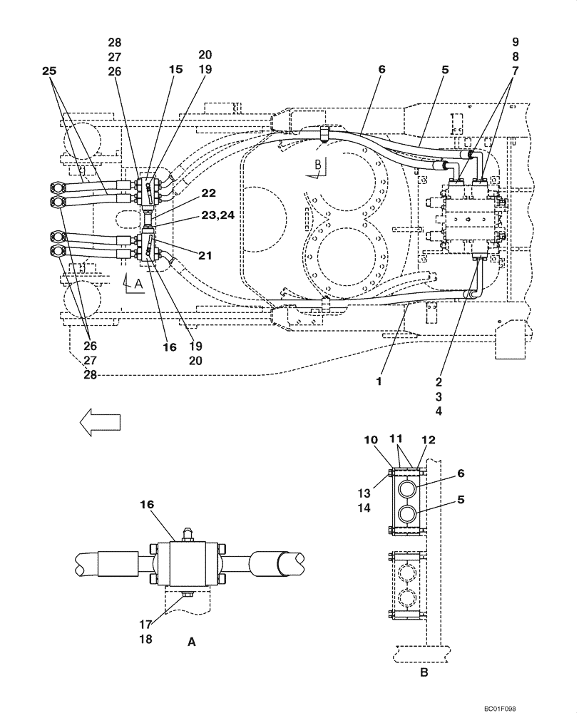
Запчасти Case CX800 (08-11) - HYDRAULICS - BOOM CYLINDER, MODELS WITH LOAD HOLD (08) - HYDRAULICS

Схема запчастей Case CX800 - (08-11) - HYDRAULICS - BOOM CYLINDER, MODELS WITH LOAD HOLD (08) - HYDRAULICS
26
24
13
9
3
16
27
20
20
23
2
22
28
4
18
21
6
28
25
10
8
5
16
27
12
6
15
14
17
5
26
19
11
1
19
7
FIT
1:1
100%

Артикул

Название

Примечание

Количество

1

KUJ0216

HYDRAULIC HOSE,31.80 mm ID x 2510.00 mm

1шт.

2

150124A1

FLANGE

Split

4шт.

3

862-14040

HEX SOC SCREW,M14 x 40mm, Cl 12.9

8шт.

4

164450A1

O-RING

2шт.

5

KUJ0215

HYDRAULIC HOSE,31.80 mm ID x 2470.00 mm

1шт.

6

KUJ0217

HYDRAULIC HOSE,31.80 mm ID x 2240.00 mm

1шт.

7

150124A1

FLANGE

Split

8шт.

8

862-14040

HEX SOC SCREW,M14 x 40mm, Cl 12.9

16шт.

9

164450A1

O-RING

4шт.

10

152888A1

PLATE, SPACER

PLATE,SPACER

1шт.

11

KUJ0213

HOSE CLAMP

2шт.

12

KUJ0036

SPACER

2шт.

13

828-10090

BOLT,Hex, M10 x 1.5 x 90mm, Cl 10.9

2шт.

14

150409A1

WASHER

10,5 x 21 x 3,2 mm

2шт.

15

KUJ0071

MANIFOLD VALVE

1шт.

16

KUJ0072

MANIFOLD VALVE

1шт.

17

102R014Y030R

BOLT

6шт.

18

150418A1

WASHER

6шт.

19

158784A1

ELBOW

Incl. 20

2шт.

20

154467A1

O-RING,10.8mm ID x 2.4mm Width

1шт.

21

KUJ0074

HYDRAULIC HOSE,6.30 mm ID x 420.00 mm

1шт.

22

KUJ0073

TUBE ASSY.,34.7 mm ID x 42.7 mm OD

1шт.

23

862-14040

HEX SOC SCREW,M14 x 40mm, Cl 12.9

8шт.

24

164450A1

O-RING

2шт.

25

KUJ0070

HYDRAULIC HOSE,31.80 mm ID x 1280.00 mm

4шт.

26

150124A1

FLANGE

Split

16шт.

27

862-14040

HEX SOC SCREW,M14 x 40mm, Cl 12.9

32шт.

28

164450A1

O-RING

8шт.

Выбрано товаров: 28