Запчасти Case CX800 (08-16) - HYDRAULICS - ARM CYLINDER, MODELS WITHOUT LOAD HOLD (08) - HYDRAULICS

Схема запчастей Case CX800 - (08-16) - HYDRAULICS - ARM CYLINDER, MODELS WITHOUT LOAD HOLD (08) - HYDRAULICS
7
6
6
15
9
15
5
1
8
7
10
13
11
7
8
12
14
8
6
FIT
1:1
100%

Артикул

Название

Примечание

Количество

Arm 3,66 Meter (12 Ft)

1шт.

Arm 4,44 Meter (14 Ft 7 IN)

1шт.

Arm 5,62 Meter (18 Ft 5 IN)

1шт.

Models Without Load Hold

1шт.

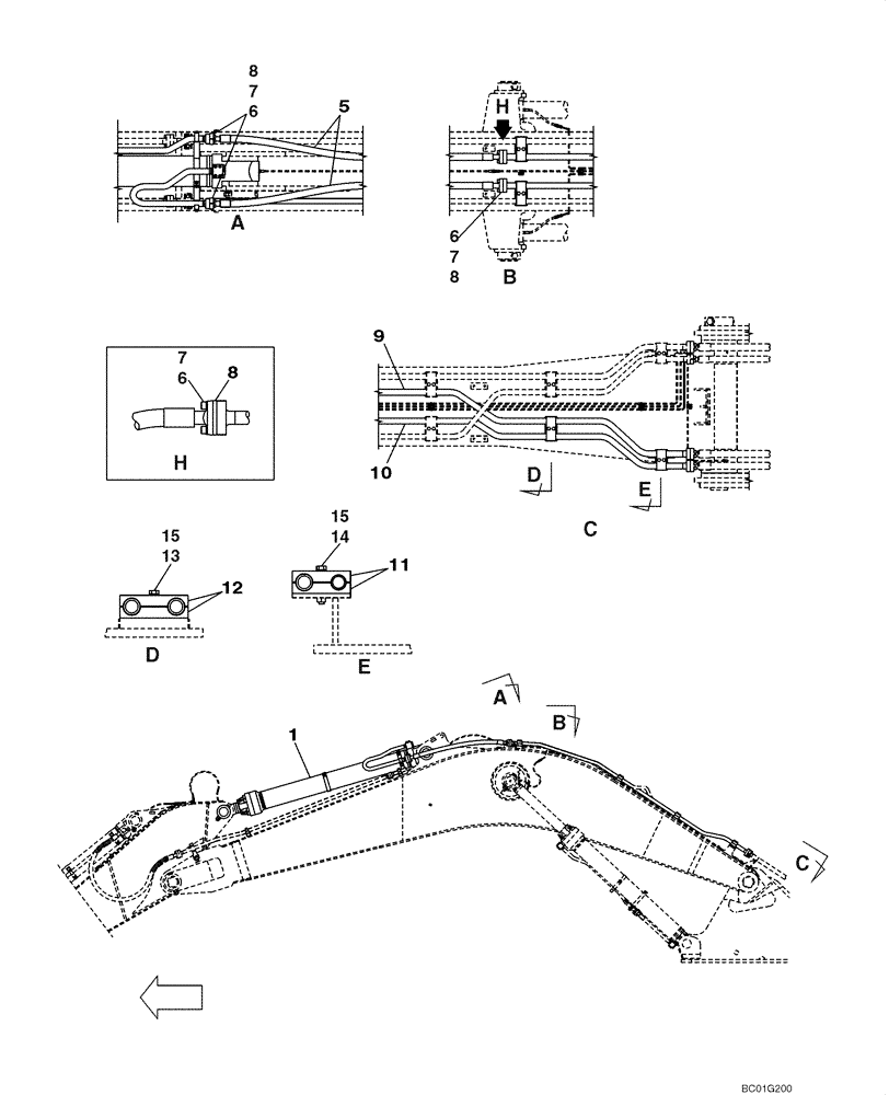
1

KUV0242

HYDRAULIC CYLINDER

Arm, See Figure 08-80

1шт.

5

KUV0051

HYDRAULIC HOSE,38.10 mm ID x 1550.00 mm

2шт.

6

KTJ0169

FLANGE

Split

8шт.

7

862-16050

HEX SOC SCREW,M16 x 50mm, Cl 12.9

16шт.

8

168211A1

O-RING

4шт.

9

KUV0246

HYD TUBE,38.6 mm ID x 48.6 mm OD

1шт.

10

KUV0245

HYD TUBE,38.6 mm ID x 48.6 mm OD

1шт.

11

KUV0175

CLAMP BRACKET

2шт.

12

KUV0058

CLAMP BRACKET

2шт.

13

827-16090

BOLT,Hex, M16 x 2 x 90mm, Cl 10.9

2шт.

14

827-16110

BOLT,Hex, M16 x 2 x 110mm, Cl 10.9

2шт.

15

892-11016

LOCK WASHER,16.4mm ID x 27.4mm OD x 5mm Thk

4шт.

Выбрано товаров: 16