Запчасти Case CX800 (08-030-01[01]) - HYDRAULIC CIRCUIT - HAND CONTROL PILOT (WITH VALVE, PRESSURE RELIEF) (08) - HYDRAULICS

Схема запчастей Case CX800 - (08-030-01[01]) - HYDRAULIC CIRCUIT - HAND CONTROL PILOT (WITH VALVE, PRESSURE RELIEF) (08) - HYDRAULICS
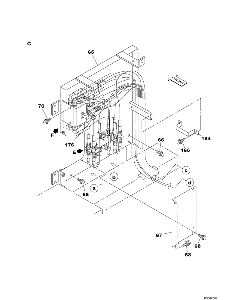
66
165
164
67
68
66
65
176
68
70
FIT
1:1
100%

Артикул

Название

Примечание

Количество

65

KWJ0066

SUPPORT

1шт.

66

166352A1

BOLT

M12 x 30

3шт.

67

KTJ2108

COVER

1шт.

68

166052A1

BOLT

M10 x 25

4шт.

70

166052A1

BOLT

M10 x 25

2шт.

164

159040A1

CLAMP

1шт.

165

166350A1

BOLT

M8 x 20

2шт.

176

150071A1

MOUNTING CLIP

380 mm

1шт.

Выбрано товаров: 8