Запчасти Case CX800 (08-031-00[01]) - HYDRAULIC CIRCUIT - HAND CONTROL PILOT (WITHOUT VALVE, PRESSURE RELIEF) (08) - HYDRAULICS

Схема запчастей Case CX800 - (08-031-00[01]) - HYDRAULIC CIRCUIT - HAND CONTROL PILOT (WITHOUT VALVE, PRESSURE RELIEF) (08) - HYDRAULICS
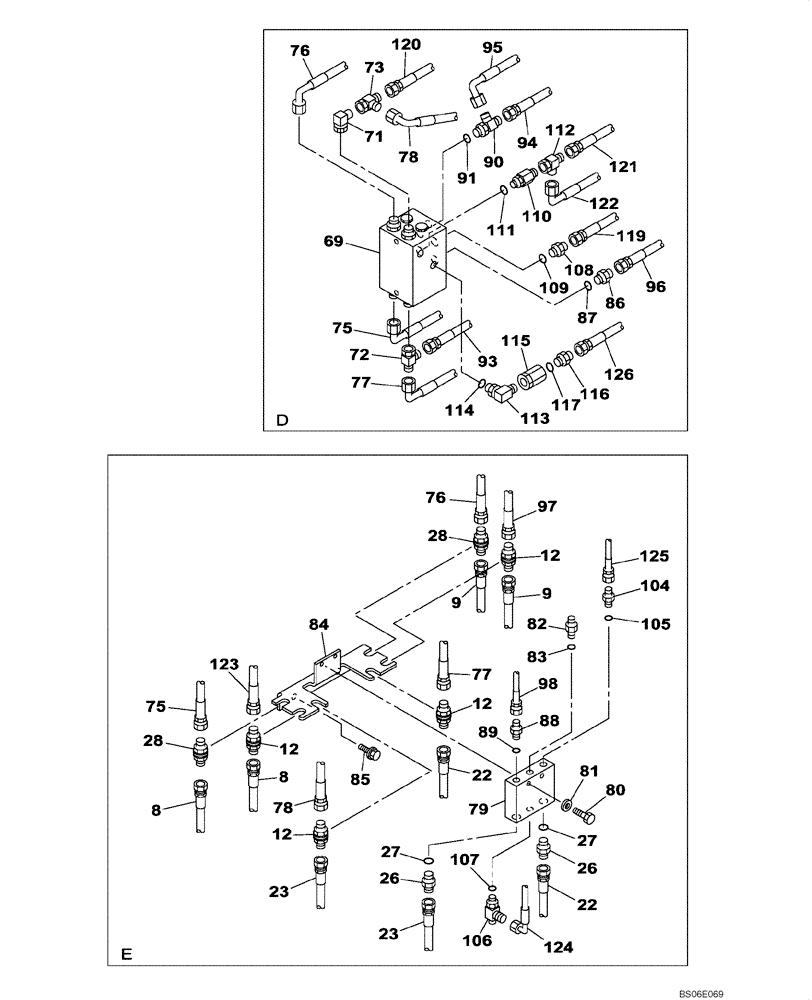
108
105
83
91
28
88
27
78
26
75
71
9
86
12
123
89
93
119
87
23
78
112
90
28
114
77
12
23
82
126
77
97
94
8
76
80
8
117
84
73
113
72
96
69
124
95
104
109
125
116
106
85
110
120
76
9
111
27
121
107
98
26
22
115
81
122
12
75
12
79
22
FIT
1:1
100%

Артикул

Название

Примечание

Количество

8

KRJ4336

HYDRAULIC HOSE,9.50 mm ID x 2200.00 mm

2шт.

9

168025A1

HYDRAULIC HOSE,9.50 mm ID x 1950.00 mm

2шт.

12

162826A1

ADAPTER

G 3/8

4шт.

22

KHJ1345

HYDRAULIC HOSE,9.52 mm ID x 2150.00 mm

2шт.

23

168025A1

HYDRAULIC HOSE,9.50 mm ID x 1950.00 mm

2шт.

26

152747A1

ADAPTER

Incl. 27

2шт.

27

154467A1

O-RING,10.8mm ID x 2.4mm Width

1шт.

28

162826A1

ADAPTER

G 3/8

2шт.

69

KWJ11220

VALVE SECTION

Replaces KUJ10020, See Figure 08-257-00 01

1шт.

71

153526A1

ELBOW

1шт.

72

KHJ2234

TEE

1шт.

73

KHJ2234

TEE

1шт.

75

162534A1

HOSE

1шт.

76

162565A1

HOSE ASSY.

600 mm

1шт.

77

162835A1

HOSE ASSY.

600 mm

1шт.

78

KRJ3569

HOSE

1шт.

79

KHJ17120

VALVE SECTION

; Replaces KHJ1973

1шт.

80

827-8045

BOLT,Hex, M8 x 1.25 x 45mm, Cl 10.9

2шт.

81

153081A1

WASHER

W M8

2шт.

82

KHJ1291

ORIFICE

Incl. 83

1шт.

83

154467A1

O-RING,10.8mm ID x 2.4mm Width

1шт.

84

KHJ1576

BRACKET

1шт.

85

166052A1

BOLT

M10 x 25

2шт.

86

152128A1

HYD CONNECTOR,3/8" NPT O-Ring x 3/8" NPT

Incl. 87

1шт.

87

154475A1

O-RING

1шт.

88

152747A1

ADAPTER

Incl. 89

1шт.

89

154467A1

O-RING,10.8mm ID x 2.4mm Width

1шт.

90

164107A1

TEE,3/8" ORB x 3/8" - 19 NPT x 3/8" - 19 NPT

Incl. 91

1шт.

91

154475A1

O-RING

1шт.

93

159063A1

HOSE

3800 mm

1шт.

94

159062A1

HOSE ASSY.

3700 mm

1шт.

95

KHJ10300

HYDRAULIC HOSE

3900 mm

1шт.

96

159062A1

HOSE ASSY.

3700 mm

1шт.

97

KHJ12540

HYDRAULIC HOSE

3900 mm

1шт.

98

162531A1

HOSE

3600 mm

1шт.

104

152747A1

ADAPTER

Incl. 105

1шт.

105

154467A1

O-RING,10.8mm ID x 2.4mm Width

1шт.

106

KHJ2773

TEE

Incl. 107

1шт.

107

154467A1

O-RING,10.8mm ID x 2.4mm Width

1шт.

108

152128A1

HYD CONNECTOR,3/8" NPT O-Ring x 3/8" NPT

Incl. 109

1шт.

109

154475A1

O-RING

1шт.

110

KHJ2847

ADAPTER

Incl. 111

1шт.

111

154475A1

O-RING

1шт.

112

KHJ2234

TEE

1шт.

113

KHJ0719

ELBOW

Incl. 114

1шт.

114

154467A1

O-RING,10.8mm ID x 2.4mm Width

1шт.

115

KHJ10790

FILTER SCREEN

1шт.

116

152127A1

HYD CONNECTOR,1/4" NPT O-Ring x 1/4" NPT

Incl. 117

1шт.

117

154467A1

O-RING,10.8mm ID x 2.4mm Width

1шт.

119

MPJ5480

HOSE

4200 mm

1шт.

120

159068A1

HOSE

4300 mm

1шт.

121

KHJ12540

HYDRAULIC HOSE

3900 mm

1шт.

122

KHJ12390

HYDRAULIC HOSE

4000 mm

1шт.

123

KRJ4764

HOSE

1шт.

124

KHJ12550

HYDRAULIC HOSE

3700 mm

1шт.

125

KRJ4970

HOSE

3800 mm

1шт.

126

KHJ12560

HYDRAULIC HOSE

3900 mm

1шт.

Выбрано товаров: 57