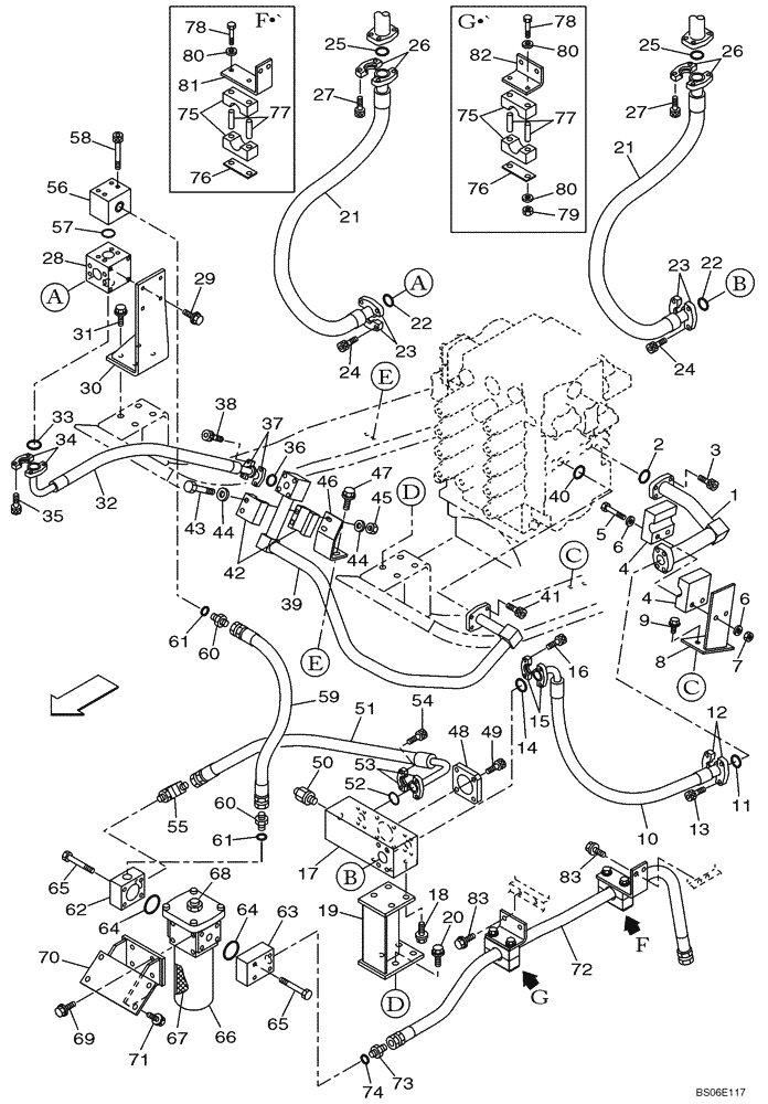
Запчасти Case CX800 (08-036-00[01]) - HYDRAULIC CIRCUIT - OPTIONAL - 3-WAY (08) - HYDRAULICS

Схема запчастей Case CX800 - (08-036-00[01]) - HYDRAULIC CIRCUIT - OPTIONAL - 3-WAY (08) - HYDRAULICS
65
20
60
67
61
6
53
77
83
10
70
5
22
37
61
40
35
76
82
45
80
60
36
31
49
54
4
64
12
44
38
73
58
65
83
44
14
1
55
63
8
13
57
51
27
75
41
39
21
62
75
23
56
59
47
9
43
23
2
42
2
25
33
50
24
80
18
68
26
7
46
21
27
66
79
6
25
17
74
3
81
80
78
78
22
15
52
76
72
64
32
48
11
71
26
24
34
77
6
69
19
30
28
9
FIT
1:1
100%

Артикул

Название

Примечание

Количество

1

KUJ10620

HYD TUBE,34.7 mm ID x 42.7 mm OD

1шт.

2

164450A1

O-RING

1шт.

3

108R014Y045R

BOLT,Hex Skt, M14 x 45mm, Cl 12.9

M14 x 45

4шт.

4

KWJ10510

CLAMP

2шт.

5

827-12100

BOLT,Hex, M12 x 1.75 x 100mm, Cl 10.9

2шт.

6

150811A1

WASHER

W12

4шт.

7

829-1412

NUT,M12, Cl 10.9

2шт.

8

KUJ10590

SUPPORT

1шт.

9

152718A1

BOLT,Spcl, Hex Wshr, M12 x 25mm, Cl 10.9

2шт.

10

KUJ10610

HYDRAULIC HOSE,31.80 mm ID x 1130.00 mm

1шт.

11

168211A1

O-RING

1шт.

12

KTJ0169

FLANGE

2шт.

13

862-16050

HEX SOC SCREW,M16 x 50mm, Cl 12.9

4шт.

14

164450A1

O-RING

1шт.

15

150124A1

FLANGE

2шт.

16

108R014Y045R

BOLT,Hex Skt, M14 x 45mm, Cl 12.9

M14 x 45

4шт.

17

KSJ2740

MANIFOLD

1шт.

18

166373A1

BOLT,Sems, M16 x 40mm

M16 x 40

4шт.

19

KUJ10640

SUPPORT

1шт.

20

165929A1

BOLT,Sems, M16

M16 x 50

4шт.

21

KUJ0453

HYDRAULIC HOSE,38.10 mm ID x 2580.00 mm

2шт.

22

164450A1

O-RING

2шт.

23

150124A1

FLANGE

4шт.

24

108R014Y045R

BOLT,Hex Skt, M14 x 45mm, Cl 12.9

M14 x 45

8шт.

25

168211A1

O-RING

2шт.

26

KTJ0169

FLANGE

4шт.

27

862-16050

HEX SOC SCREW,M16 x 50mm, Cl 12.9

8шт.

28

KSJ2755

VALVE

See Figure 08-251-00 01

1шт.

29

166352A1

BOLT

M12 x 30

4шт.

30

KUJ10630

SUPPORT

1шт.

31

165929A1

BOLT,Sems, M16

M16 x 50

4шт.

32

KUJ10600

HYDRAULIC HOSE,31.80 mm ID x 960.00 mm

1шт.

33

164450A1

O-RING

1шт.

34

150124A1

FLANGE

2шт.

35

108R014Y045R

BOLT,Hex Skt, M14 x 45mm, Cl 12.9

M14 x 45

4шт.

36

168211A1

O-RING

1шт.

37

KTJ0169

FLANGE

2шт.

38

862-16050

HEX SOC SCREW,M16 x 50mm, Cl 12.9

4шт.

39

KUJ10650

HYD TUBE,41.6 mm ID x 48.6 mm OD

1шт.

40

164450A1

O-RING

1шт.

41

108R014Y045R

BOLT,Hex Skt, M14 x 45mm, Cl 12.9

M14 x 45

4шт.

42

KWJ10510

CLAMP

2шт.

43

827-12100

BOLT,Hex, M12 x 1.75 x 100mm, Cl 10.9

2шт.

44

150811A1

WASHER

W 12

4шт.

45

829-1412

NUT,M12, Cl 10.9

2шт.

46

KUJ10700

SUPPORT

1шт.

47

152718A1

BOLT,Spcl, Hex Wshr, M12 x 25mm, Cl 10.9

2шт.

48

162658A1

MANIFOLD VALVE

1шт.

49

862-16030

HEX SOC SCREW,M16 x 30mm, Cl 12.9

4шт.

50

162656A1

VALVE

1шт.

51

KUJ10660

HYDRAULIC HOSE,31.80 mm ID x 930.00 mm

1шт.

52

164450A1

O-RING

1шт.

53

157856A1

CLAMP BRACKET

2шт.

54

862-10030

HEX SOC SCREW,M10 x 30mm, Cl 12.9

4шт.

55

157588A1

ELBOW

1шт.

56

KWJ0048

VALVE SECTION

1шт.

57

164450A1

O-RING

1шт.

58

862-14090

HEX SOC SCREW,M14 x 90mm, Cl 12.9

4шт.

59

KUJ10560

HYDRAULIC HOSE,31.80 mm ID x 1030.00 mm

1шт.

60

159047A1

ADAPTER

Incl. 61

2шт.

61

154559A1

O-RING

1шт.

62

KWJ0051

VALVE SECTION

1шт.

63

KWJ0052

VALVE SECTION

1шт.

64

154721A1

O-RING,99.4mm ID x 3.1mm Width

2шт.

65

827-16090

BOLT,Hex, M16 x 2 x 90mm, Cl 10.9

8шт.

66

KUJ0159

FILTER

Incl. 57, 58

1шт.

67

KUJ0160

FILTER, ELEMENT

ELEMENT, FILTER

1шт.

68

159706A1

INDICATOR

1шт.

69

166352A1

BOLT

M12 x 30

4шт.

70

KUJ0119

BRACKET

1шт.

71

166352A1

BOLT

M12 x 30

4шт.

72

KUJ10670

HYDRAULIC HOSE,31.80 mm ID x 1950.00 mm

1шт.

73

159047A1

ADAPTER

Incl. 74

1шт.

74

154559A1

O-RING

1шт.

75

KUJ0252

HOSE CLAMP

4шт.

76

KUJ0034

SHEET

2шт.

77

KUJ0036

SPACER

4шт.

78

102R010Y110R

BOLT

M10 x 110

4шт.

79

829-1410

NUT,M10 x 1.5, Cl 10.9

2шт.

80

150409A1

WASHER

W M10

6шт.

81

KUJ10680

SUPPORT

1шт.

82

KUJ0253

BRACKET

1шт.

83

166352A1

BOLT

M12 x 30

4шт.

Выбрано товаров: 83