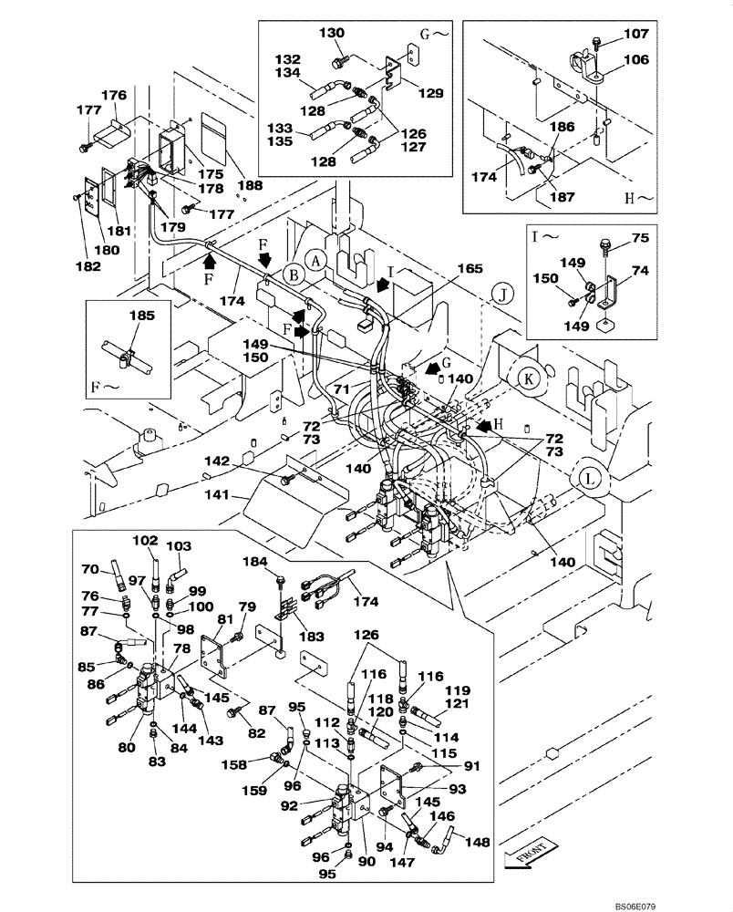
Запчасти Case CX800 (08-081-00[01]) - CIRCUIT, HYDRAULIC-ELECTRICAL - SELF-DETACHING COUNTERWEIGHT SYSTEM (08) - HYDRAULICS

Схема запчастей Case CX800 - (08-081-00[01]) - CIRCUIT, HYDRAULIC-ELECTRICAL - SELF-DETACHING COUNTERWEIGHT SYSTEM (08) - HYDRAULICS
177
84
85
100
130
158
188
140
92
180
71
140
177
181
82
149
75
86
112
183
185
186
79
80
77
87
87
73
178
142
145
128
126
145
83
91
99
106
149
107
150
128
174
148
73
132
74
146
118
96
176
94
140
115
174
116
114
102
133
149
134
95
103
121
76
174
147
81
97
127
187
182
119
98
95
179
72
70
90
116
78
126
144
129
159
184
143
96
93
113
141
120
175
165
150
72
135
FIT
1:1
100%

Артикул

Название

Примечание

Количество

70

KHJ15330

HYDRAULIC HOSE

2000 mm

1шт.

71

KHR4065

PLASTIC-RUBBER TUBE

350 mm

1шт.

72

KHJ1076

CLAMP

4шт.

73

159602A1

BOLT,Sems, Hex, M6 x 16mm

M6 x 16

4шт.

74

KWJ11060

SUPPORT

1шт.

75

152718A1

BOLT,Spcl, Hex Wshr, M12 x 25mm, Cl 10.9

1шт.

76

152128A1

HYD CONNECTOR,3/8" NPT O-Ring x 3/8" NPT

Incl. 77

1шт.

77

154475A1

O-RING

1шт.

78

KUJ0298

MANIFOLD VALVE

1шт.

79

166052A1

BOLT

M10 x 25

4шт.

80

KUJ0288

SOLENOID VALVE

See Figure 08-259-00 01

1шт.

81

KTJ2302

BRACKET

1шт.

82

166352A1

BOLT

M12 x 30

2шт.

83

153105A1

PLUG

Incl. 84

1шт.

84

154475A1

O-RING

1шт.

85

157584A1

ELBOW

Incl. 86

1шт.

86

154475A1

O-RING

1шт.

87

KTJ2305

HYDRAULIC HOSE,9.52 mm ID x 370.00 mm

1шт.

90

KUJ0298

MANIFOLD VALVE

1шт.

91

166052A1

BOLT

M10 x 25

4шт.

92

KUJ0288

SOLENOID VALVE

See Figure 08-259-00 01

1шт.

93

KTJ2302

BRACKET

1шт.

94

166352A1

BOLT

M12 x 30

2шт.

95

153105A1

PLUG

Incl. 96

2шт.

96

154475A1

O-RING

1шт.

97

159226A1

ADAPTER

Incl. 98

1шт.

98

154475A1

O-RING

1шт.

99

152128A1

HYD CONNECTOR,3/8" NPT O-Ring x 3/8" NPT

Incl. 100

1шт.

100

154475A1

O-RING

1шт.

102

KAJ4281

HYDRAULIC HOSE,9.50 mm ID x 1400.00 mm

1шт.

103

KWJ11030

HYDRAULIC HOSE,9.52 mm ID x 1150.00 mm

1шт.

106

KHR2581

CLAMP

1шт.

107

KHJ1215

BOLT,Spcl

M8 x 25

1шт.

112

159226A1

ADAPTER

Incl. 113

1шт.

113

154475A1

O-RING

1шт.

114

152128A1

HYD CONNECTOR,3/8" NPT O-Ring x 3/8" NPT

Incl. 115

1шт.

115

154475A1

O-RING

1шт.

116

KHJ2234

TEE

2шт.

118

KAJ3534

HYDRAULIC HOSE,9.50 mm ID x 1550.00 mm

1350 mm

1шт.

119

167717A1

HYDRAULIC HOSE,9.50 mm ID x 1350.00 mm

1шт.

120

158063A1

PLASTIC-RUBBER TUBE

1300 mm

1шт.

121

150774A1

PLASTIC-RUBBER TUBE

1000 mm

1шт.

126

KHJ15260

HYDRAULIC HOSE

760 mm

2шт.

127

150488A1

PLASTIC-RUBBER TUBE

600 mm

2шт.

128

162826A1

ADAPTER

2шт.

129

KWJ10940

SUPPORT

1шт.

130

152718A1

BOLT,Spcl, Hex Wshr, M12 x 25mm, Cl 10.9

2шт.

132

KHJ15350

HYDRAULIC HOSE

1800 mm

1шт.

133

KHJ15340

HYDRAULIC HOSE

1600 mm

1шт.

134

KHR3340

PLASTIC-RUBBER TUBE

1700 mm

1шт.

135

158064A1

PLASTIC-RUBBER TUBE

1500 mm

1шт.

140

150071A1

MOUNTING CLIP

380 mm

1шт.

141

KWJ10960

PROTECTION PLATE

1шт.

142

152718A1

BOLT,Spcl, Hex Wshr, M12 x 25mm, Cl 10.9

2шт.

143

150916A1

ELBOW,90 Degree, 3/8" O-Ring x 3/8"

Incl. 144

1шт.

144

154475A1

O-RING

1шт.

145

KRJ4344

HYDRAULIC HOSE,9.50 mm ID x 530.00 mm

1шт.

146

164107A1

TEE,3/8" ORB x 3/8" - 19 NPT x 3/8" - 19 NPT

Incl. 147

1шт.

147

154475A1

O-RING

1шт.

148

KHJ1572

HYDRAULIC HOSE

2100 mm

1шт.

149

KHJ1076

CLAMP

6шт.

150

159602A1

BOLT,Sems, Hex, M6 x 16mm

M6 x 16

4шт.

158

150916A1

ELBOW,90 Degree, 3/8" O-Ring x 3/8"

Incl. 159

1шт.

159

154475A1

O-RING

1шт.

165

150071A1

MOUNTING CLIP

1шт.

174

KWR10020

WIRE HARNESS

1шт.

175

150636A1

BOX

1шт.

176

KUR0055

COVER

1шт.

177

166052A1

BOLT

M10 x 25

2шт.

178

KUR0053

TOGGLE SWITCH

1шт.

179

KUR0054

TOGGLE SWITCH

2шт.

180

KUR0056

PANEL

1шт.

181

150642A1

PACKING

1шт.

182

150875A1

SCREW,Phil Truss Hd, M4 x 12mm

M4 x 12

6шт.

183

KUR0091

BRACKET

1шт.

184

166351A1

BOLT,Sems, M10 x 20mm

M10 x 20

1шт.

185

KHR2787

CLAMP

4шт.

186

158962A1

CLIP

1шт.

187

167518A1

BOLT

M8 x 16

1шт.

188

KHP1718

DECAL

1шт.

Выбрано товаров: 80