Запчасти Case CX800 (08-100-00[01]) - PUMP ASSY, HYDRAULIC - PISTON (08) - HYDRAULICS

Схема запчастей Case CX800 - (08-100-00[01]) - PUMP ASSY, HYDRAULIC - PISTON (08) - HYDRAULICS
61
88
55
1
52
83
36
67
45
81
76
77
69
43
68
61
61
37
58
27
49
70
78
80
66
48
62
82
74
65
60
30
72
24
23
84
33
61
53
38
73
35
52
48
72
57
41
85
75
72
56
54
59
29
79
47
32
51
42
70
46
64
82
49
39
63
152
71
40
44
240
26
50
FIT
1:1
100%

Артикул

Название

Примечание

Количество

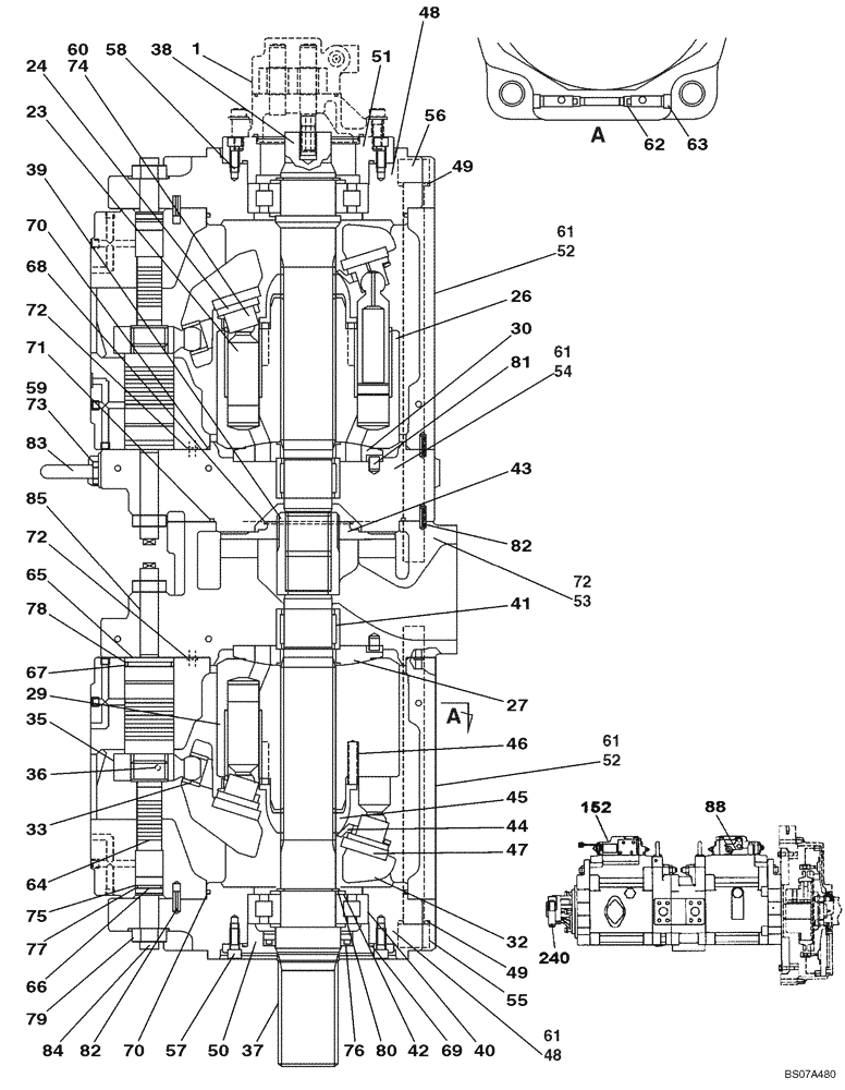
KUJ0309

PUMP, HYDRAULIC

Includes All Parts On Figures 08-56 - 08-61A

1шт.

87341996

REMAN-HYD PUMP

1шт.

87341997

CORE-HYDRAULIC PUMP

1шт.

1

LJ00575

PUMP, HYDRAULIC

See Figure 08-57

1шт.

LJ00874

PISTON

Incl. 23, 24

2шт.

22

NSS

NOT SOLD SEPARAT

Piston

18шт.

23

NSS

NOT SOLD SEPARAT

Shoe, Wear

18шт.

LS00092

CYLINDER BLOCK

Incl. 26, 27

1шт.

26

NSS

NOT SOLD SEPARAT

Block

1шт.

27

NSS

NOT SOLD SEPARAT

Plate

1шт.

LS00091

CYLINDER BLOCK

Incl. 29, 30

1шт.

29

NSS

NOT SOLD SEPARAT

Block

1шт.

30

NSS

NOT SOLD SEPARAT

Plate

1шт.

LR00421

PLATE

Incl. 32, 33

1шт.

32

NSS

NOT SOLD SEPARAT

Plate

1шт.

33

NSS

NOT SOLD SEPARAT

Bushing

1шт.

LA00600

SPLIT PIN/SAFETY PIN

Incl. 35, 36

2шт.

35

NSS

NOT SOLD SEPARAT

Pin

2шт.

36

NSS

NOT SOLD SEPARAT

Pin, Split

2шт.

37

LB00425

GEAR SHAFT

1шт.

38

LB00426

GEAR SHAFT

1шт.

39

LB00429

SHAFT

1шт.

40

LB00706

BEARING, ROLLER, CYL

2шт.

41

LB00431

BEARING, ROLLER

2шт.

42

LH00203

SPACER

4шт.

43

LJ00582

HOLDER

1шт.

44

LR00761

PLATE

2шт.

45

LB00434

BUSHING

2шт.

46

LG00254

COMPRESSION SPRING

18шт.

47

TPM0021

HOUSING

2шт.

48

LS00174

SUPPORT

2шт.

49

LA00795

WASHER

8шт.

50

LW00263

COVER

1шт.

51

LW00264

COVER

Rear

1шт.

52

LW00265

HOUSING

2шт.

53

LW00262

COVER

1шт.

54

LW00261

COVER

1шт.

55

LA00591

BOLT,Hex Skt Hd

4шт.

56

LA00590

BOLT,Hex Skt Hd

4шт.

57

162R020VR

NUT

4шт.

58

863-8030

HEX SOC SCREW,M8 x 30mm, Cl 12.9

4шт.

59

155496A1

PLUG

2шт.

60

155471A1

PLUG

4шт.

61

LK00003

PLUG

31шт.

62

LK00230

PLUG

4шт.

63

LK00028

PLUG

5шт.

64

LJ00592

PISTON

2шт.

65

LG00266

STOP

2шт.

66

LG00265

STOP

2шт.

67

LE00607

O-RING

2шт.

68

154661A1

PLUG

1шт.

69

LE00606

O-RING

2шт.

70

CBP0265

O-RING

4шт.

71

CBP0267

O-RING

1шт.

72

154455A1

O-RING

19шт.

73

154467A1

O-RING,10.8mm ID x 2.4mm Width

2шт.

74

154503A1

O-RING

2шт.

75

LE00608

O-RING

2шт.

76

LE00611

OIL SEAL

1шт.

77

153979A1

BACK-UP RING

2шт.

78

154047A1

BACK-UP RING

2шт.

79

829-1420

NUT,M20, Cl 10

4шт.

80

TMM0028

RING

2шт.

81

LA00569

DOWEL

2шт.

82

738-1620

LOCK PIN,6mm OD x 20mm L, Slotted

5шт.

83

126R016SN

EYEBOLT

BOLT, EYE

2шт.

84

LA00596

SCREW,Hex Skt

2шт.

85

LA00595

SCREW,Hex Skt

2шт.

88

LJ01299

REGULATOR

See Figures 08-58, 08-59

1шт.

152

LJ01300

REGULATOR

See Figure 08-60, 08-61

1шт.

240

LJ01287

HYDRAULIC PUMP

See Figure 08-61A

1шт.

Выбрано товаров: 71