Качественные детали и логистика
Оригинальные и аналоговые запчасти с доставкой по России, Казахстану и Беларуси
©2022 PartSell ООО "Система" ИНН 2463123282 ОГРН 1212400004838
Центральный офис: г. Красноярск, Академика Киренского, д.87, пом.4
Телефон: 8 (800) 777-65-74 Email: zakaz@partsell.ru
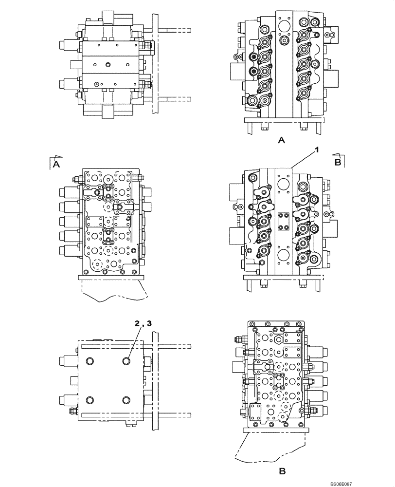
(08-200-00[01]) - CONTROL VALVE
№
Артикул
Название
Примечание
Количество
1
KUJ10940
CONTROL VALVE
See Figures 08-201-00 01 - 08-206-00 01
1шт.
2
827-20080
BOLT,Hex, M20 x 2.5 x 80mm, Cl 10.9
3
166654A1
SPACER
8шт.
Выбрано товаров: 0